LEMON Manuals: Even more car manuals for everyone
Home >> Chevrolet >> 2004 >> Tracker 4WD >> Repair and Diagnosis (Single Page) >> Accessories & Equipment >> Wiper/Washer Systems >> Wiper System And Washer System >> Component Locator >> Wiper/Washer System Connector End Views

Wiper/Washer System Connector End Views

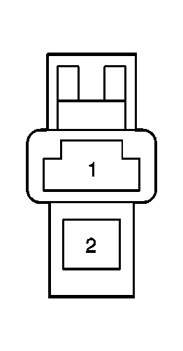
Front Washer Pump Connector End View

GM583093Courtesy of GENERAL MOTORS CORP.
Connector Part Information
  • 097050200000
  • WHT
Pin Wire Color Function
1 BLK Ground G104
2 BLU/BLK Pump On Signal
Front Wiper Motor Connector End View

GM582981Courtesy of GENERAL MOTORS CORP.
Connector Part Information
  • 0970605W0025
  • GRY
Pin Wire Color Function
1 BLU Low Signal
2 YEL/BLU Ignition Positive Voltage
3 BLU/WHT Park Signal
4 BLU/RED High Signal
5 BLK Ground G104
Rear Washer Pump Connector End View

GM583178Courtesy of GENERAL MOTORS CORP.
Connector Part Information
  • 097050200001
  • BLK
Pin Wire Color Function
1 BLK Ground G104
2 BLK/RED Washer On/Off Signal
Rear Wiper Motor Connector End View

GM583180Courtesy of GENERAL MOTORS CORP.
Connector Part Information
  • 097050410410
  • WHT
Pin Wire Color Function
1 BLU/GRN Washer On/Off Signal
2 YEL/BLU Ignition Positive Voltage
3 - Not Used
4 ORN Wiper On/Off Signal
Rear Wiper/Washer Switch Connector End View

GM566122Courtesy of GENERAL MOTORS CORP.
Connector Part Information
  • 097050610010
  • NAT
Pin Wire Color Function
1 BLK/RED Washer On Signal
2 RED/YEL Relay Output Signal
3 YEL/BLU Ignition Positive Voltage
4 BLU/GRN Washer Off Signal
5 ORN Wiper On/Off Signal
6 RED/GRN Illumination Control Signal