LEMON Manuals: Even more car manuals for everyone
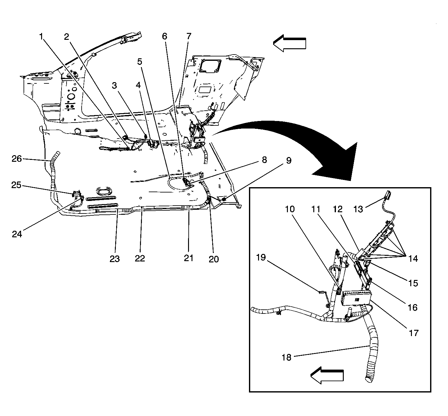
Home >> Chevrolet >> 2004 >> SSR >> Repair and Diagnosis (Single Page) >> Quick Lookups >> Electrical Component Locations >> Wiring Systems (Component Locator) >> Component Locator >> Power and Grounding Component Views

Power and Grounding Component Views

Fig 1: Junction Block - Underhood and Battery Harness Component View
GM1414559Courtesy of GENERAL MOTORS CORP.
Callout Component Name
1 Junction Block - Underhood
2 Battery Positive Cable
3 S113
4 Fusible Link
5 Engine Positive Cable
Fig 2: Instrument Panel Cluster Component View
GM1277223Courtesy of GENERAL MOTORS CORP.
Callout Component Name
1 Head Lamp Switch
2 Instrument Panel Cluster
3 Radio
4 Inflatable Restraint I/P Module
5 Auxiliary Power Outlet Front #2
6 Cigar Lighter
7 HVAC Control Module
8 Auxiliary Power Outlet Front #1
9 Noise Compensation Microphone
10 Ignition Switch
Fig 3: G100, G101, G102 Component View
GM1392456Courtesy of GENERAL MOTORS CORP.
Callout Component Name
1 G101
2 G100
3 G102
Fig 4: G103 and Fuse Block-Underhood Component View
GM1392457Courtesy of GENERAL MOTORS CORP.
Callout Component Name
1 I/P Harness
2 Fuse Block - Underhood
3 G103
Fig 5: G105 Component View
GM1238379Courtesy of GENERAL MOTORS CORP.
Callout Component Name
1 C103
2 Fuse Block - Underhood C4
3 Battery Feed
4 Headlamp - Low Beam Left
5 Headlamp - High Beam Left
6 S111
7 Cooling Fan 2 Relay
8 G105
9 Cooling Fan 1 Relay
10 S106
11 Cooling Fan
12 S104
13 S103
14 Headlamp - High Beam Right
15 Headlamp - Low Beam Right
16 Horn Assembly
17 S105
Fig 6: G200, SP200, SP201 Component View
GM1254116Courtesy of GENERAL MOTORS CORP.
Callout Component Name
1 S205
2 S206
3 Instrument Panel Cluster Connector
4 Mode Actuator Connector
5 Noise Compensation Microphone Connector
6 Ambient Light Sensor Connector
7 Radio Connector C1
8 Air Temperature Actuator
9 HVAC Connector Module Connector C1,C2
10 Evaporator Temperature Sensor Connector
11 Inflatable Restraint I/P Module Connector
12 S209
13 Blower Motor Connector
14 Recirculation Actuator Connector
15 Inflatable Restriaint I/P Module Disable Switch Connector
16 I/P Compartment Lamp Connector
17 Blower Motor Resistor Connector
18 Rear Compartment Lid Release Switch - Interior Connector
19 Auxiliary Power Outlet Front #2 Connector
20 C205
21 S208
22 S207
23 Auxiliary Power Outlet Front #1 Connector
24 Splice Pack SP200, G200
25 Turn Signal/Hazard Flasher Module Connector
26 Stop Lamp Switch Connector
27 Data Link Connector (DLC)
28 Inflatable Restraint Steering Wheel Coil Connector
29 Splice Pack SP201
30 Headlamp Switch Connector
31 C201
32 Accelerator Pedal Position (APP) Sensor Connector
Fig 7: G300 Component View
GM1254130Courtesy of GENERAL MOTORS CORP.
Callout Component Name
1 Center Console Switch Assembly Connector
2 Automatic Transmission Shift Lock Actuator Connector
3 Auxiliary Message Center (SEO) Connector
4 Inflatable Restraint Sensing and Diagnostic Module (SDM) Connector
5 Park Brake Switch Connector
6 Fuse Block - Rear C4 Connector
7 C202
8 S300
9 Remote Control Door Lock Receiver (RCDLR) Connector
10 Body Control Module (BCM) C1, C2, C3, C4, C5 Connectors
11 C200
12 C204
13 Fuse Block - Rear C1 Connector
14 S318
15 S319
16 C300
17 Inflatable Restraint Side Impact Module - Left Connector
18 Seat Belt Pretensioner - LF Connector
19 G300
20 S202
21 S200
22 S203
23 C501
24 C500
25 I/P Harness
Fig 8: G301, G302, SP300 Component View
GM1236084Courtesy of GENERAL MOTORS CORP.
Callout Component Name
1 C303
2 C600
3 C601
4 G301
5 Seat Belt Pretensioner - RF
6 Inflatable Restraint Side Impact Module - Right
7 C306
8 S303
9 C308
10 Roof/Door Module
11 Roof/Door Module
12 Relay Block - Rear
13 D300
14 Speaker - LR
15 Audio Amplifier C3
16 Audio Amplifier C1
17 Splice Pack SP300
18 Audio Amplifier C2
19 S307
20 Speaker - RR
21 C309
22 C202
23 C204
24 C200
25 Fuse Block - Rear C2
26 S306
27 Fuse Block - Rear C3
28 S301
29 S302
30 G302
Fig 9: G400, G401, G402, G404, G405 and Battery Component View
GM1392459Courtesy of GENERAL MOTORS CORP.
Callout Component Name
1 G405
2 G404
3 Battery
4 G402
5 G401
6 G400