LEMON Manuals: Even more car manuals for everyone
Home >> Chevrolet >> 2004 >> SSR >> Repair and Diagnosis (Single Page) >> Body & Frame >> Windows >> Door System, Mirror System & Window System >> Component Locator >> Power Door Systems Component Views

Power Door Systems Component Views

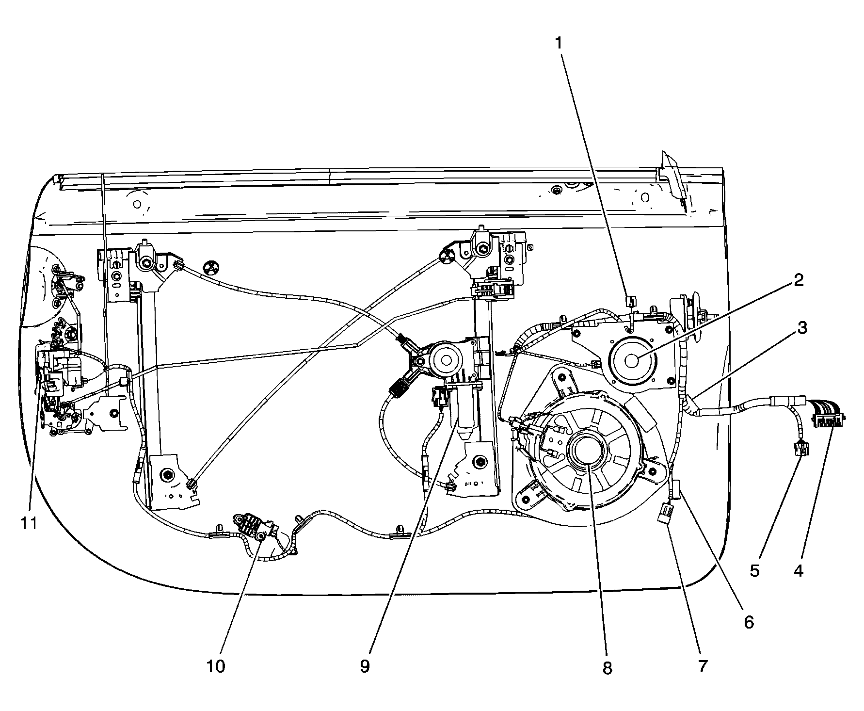
Fig 1: Driver Door Components (Premium Radio) Component View
GM1238390Courtesy of GENERAL MOTORS CORP.
Callout Component Name
1 Outside Rearview Mirror Switch
2 Speaker - LF Door Midrange
3 S501
4 C500
5 C501
6 S500
7 Outside Rearview Mirror - Driver
8 Speaker - LF Door
9 S502
10 Window Motor - Driver
11 Inflatable Restraint Side Impact Sensor (SIS) - Left
12 Door Latch Assembly - Driver
Fig 2: Passenger Door Components (Premium Radio) Component View
GM1238392Courtesy of GENERAL MOTORS CORP.
Callout Component Name
1 Speaker - RF Door Midrange
2 Door Latch Assembly - Passenger
3 Passenger Door
4 Inflatable Restraint Side Impact Sensor (SIS) - Right
5 Window Motor - Passenger
6 S602
7 Speaker - RF Door
8 Outside Rearview Mirror - Passenger
9 S600
10 C601
11 C600
12 S601
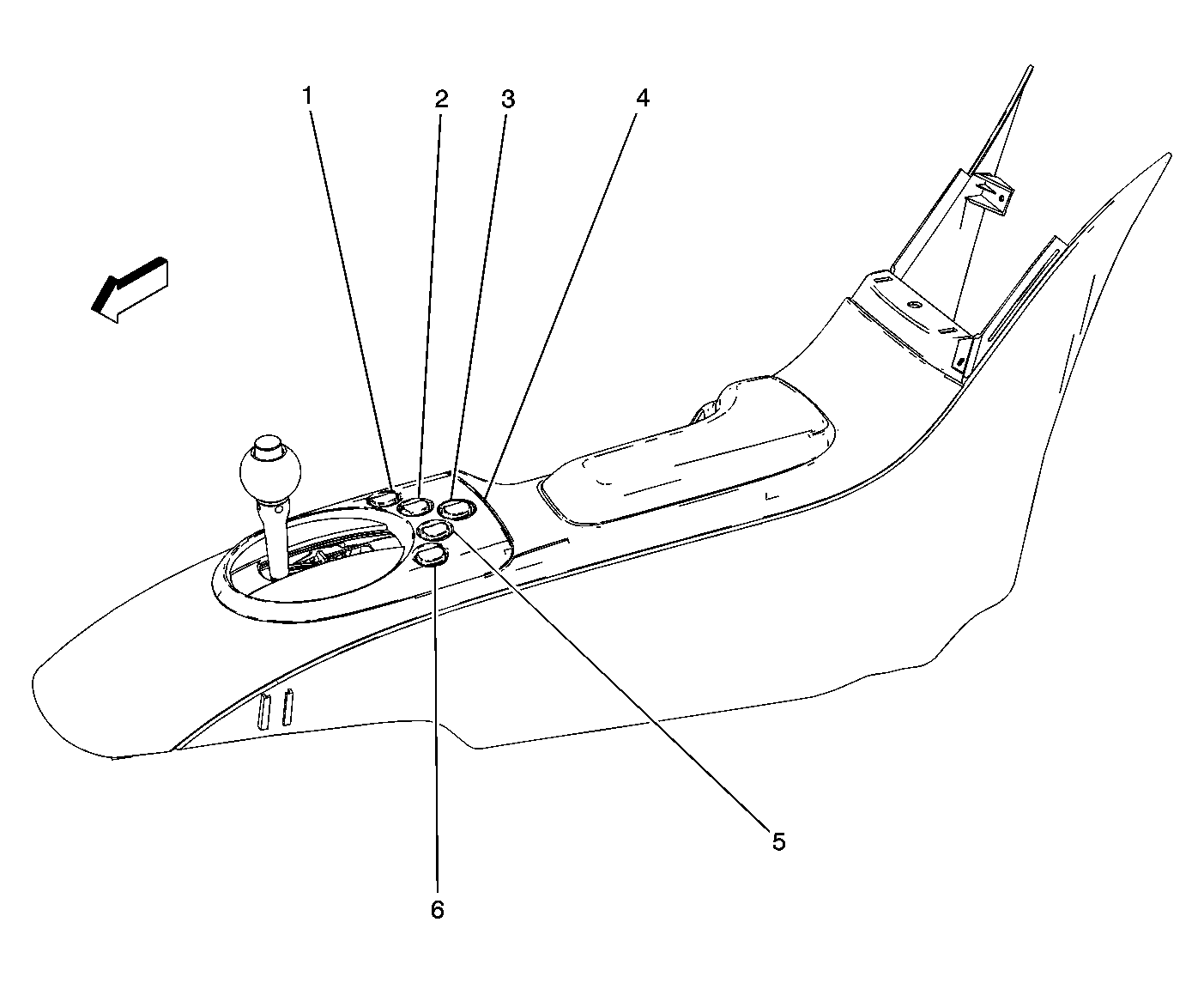
Fig 3: Center Console Component View
GM1295195Courtesy of GENERAL MOTORS CORP.
Callout Component Name
1 Passenger Window Switch
2 Door Lock/Unlock Switch
3 Folding Top Switch
4 Center Console Switch Assembly
5 Traction ON/OFF Switch
6 Driver Window Switch
Fig 4: Power Mirror Component View
GM1295059Courtesy of GENERAL MOTORS CORP.
Callout Component Name
1 Outside Rearview Mirror Switch
2 Outside Rearview Mirror - Driver
3 Outside Rearview Mirror - Passenger
4 Passenger Door
5 Speaker - RF Door
6 Speaker - RF Door Midrange
7 Speaker - LF Door Midrange
8 Speaker - RF Door
9 Driver Door