LEMON Manuals: Even more car manuals for everyone
Home >> Chevrolet >> 2004 >> Optra Base, Standard >> Repair and Diagnosis (Single Page) >> Transmission >> Automatic Trans >> Shift Interlock System >> Component Locator >> Shift Lock Control Component Views

Shift Lock Control Component Views

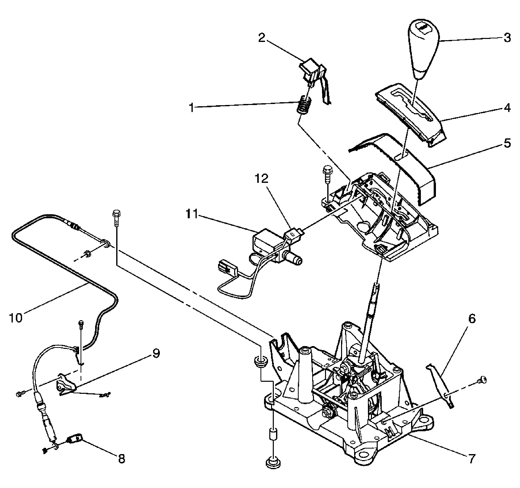
Fig 1: Automatic Transmission Shift Lever Assembly
GM1291743Courtesy of GENERAL MOTORS CORP.
Callout Component Name
1 Spring
2 BTSI Button
3 Gear Shift Knob
4 Cover
5 Step Gate Slider
6 Positioning Spring
7 Base Plate
8 T/A Lever
9 Cable Fastener
10 Select Cable
11 Automatic Transmission Shift Lock Control Solenoid
12 Park Position Switch