LEMON Manuals: Even more car manuals for everyone
Home >> Chevrolet >> 2004 >> Optra Base, Standard >> Repair and Diagnosis (Single Page) >> Steering >> Electronic Steering >> Variable Effort Steering System >> Component Locator >> Steering Assist Connector End Views

Steering Assist Connector End Views

Power Steering Control Module

GM1466976Courtesy of GENERAL MOTORS CORP.
Connector Part Information
  • AMP 173852-1
  • 14-Way F 070 Series Multilock Plug 14P (WH)
Pin Wire Color Circuit No. Function
1 L-BU 1738 Variable Effort Steering Actuator Supply Voltage
2 PU 1703 Variable Effort Steering Actuator Control
3 BK/WH 451 Steering Wheel Sensor Ground
4 - - Not Used
5 GY 1416 Battery Positive Voltage
6 D-GN/WH 817 Vehicle Speed Sensor (VSS) Signal
7 - - Not Used
8 PK 239 Ignition 1 Voltage
9 BN 956 Speed Sensitive Power Steering (SSPS) Warning Lamp Control
10 BK 1050 Ground
11-12 - - Not Used
13 D-BU 555 Serial Data
14 L-BU 1533 Steering Wheel Sensor Signal
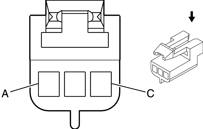
Steering Wheel Position Sensor

GM130631Courtesy of GENERAL MOTORS CORP.
Connector Part Information
  • PED 12064758
  • 3-Way F Metri-Pack 150 Series, Unsealed (BK)
Pin Wire Color Circuit No. Function
1 GY 1416 Battery Positive Voltage
2 L-BU 1533 Steering Wheel Sensor Signal
3 BK/WH 451 Ground
Variable Effort Steering Actuator

GM684795Courtesy of GENERAL MOTORS CORP.
Connector Part Information
  • PED 12052643
  • 2-Way F Metri-Pack 150 Series, Sealed (BN)
Pin Wire Color Circuit No. Function
A L-GN 1703 Variable Effort Steering Actuator Control
B BN/BK 1738 Variable Effort Steering Actuator Supply Voltage