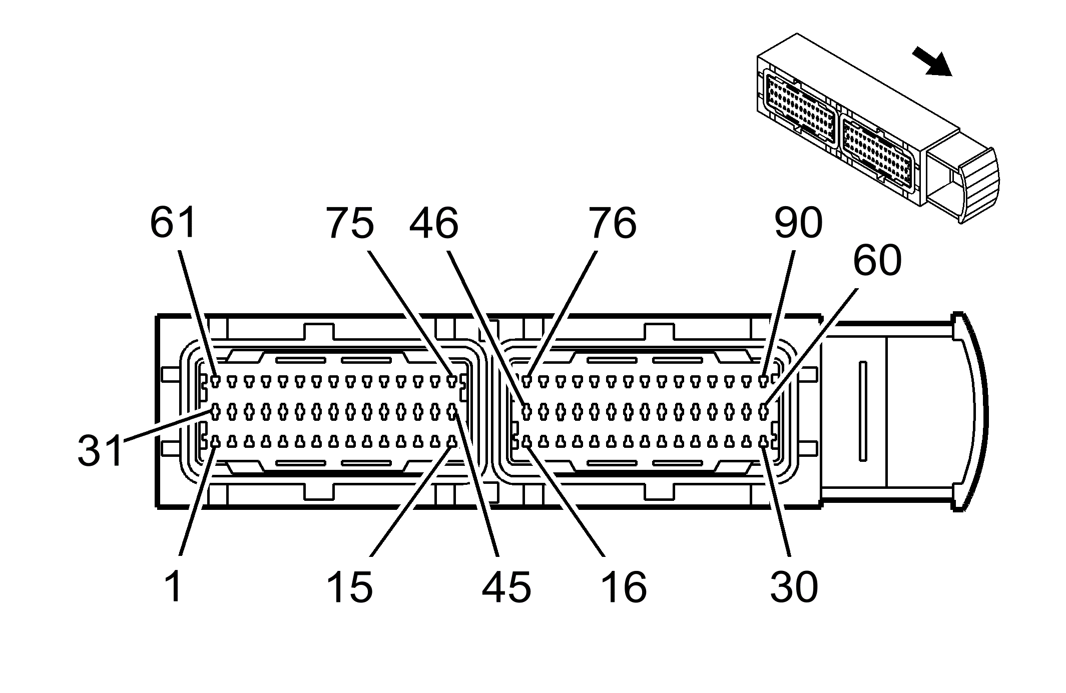
Engine Control Module Connector End Views
Engine Control Module (ECM)
| Connector Part Information |
|
||
|---|---|---|---|
| Pin | Wire Color | Circuit No. | Function |
| 1-2 | - | - | Not Used |
| 3 | BK/WH | 251 | Ground |
| 4 | - | - | Not Used |
| 5 | GY | 435 | Exhaust Gas Recirculation (EGR) Solenoid Low Control |
| 6 | D-GN/WH | 465 | Fuel Pump Relay Control |
| 7 | D-BU/WH | 471 | Main Relay Control |
| 8 | D-GN | 135 | Engine Coolant Temperature (ECT) Gauge Signal |
| 9 | D-BU | 473 | High Speed - Cooling Fan Relay Control |
| 10 | D-GN | 335 | Low Speed - Cooling Fan Relay Control |
| 11 | BK/WH | 51 | Ground |
| 12 | D-BU/WH | 1876 | Low Reference |
| 13 | OG/BK | 469 | Low Reference |
| 14 | PU | 1670 | Heated Oxygen Sensor (HO2S) 2 Signal |
| 15 | - | - | Not Used |
| 16 | BN | 413 | Low Reference |
| 17 | L-GN | 632 | Low Reference |
| 18 | - | - | Not Used |
| 19 | BK/YE | 808 | Low Reference |
| 20 | L-BU | 203 | A/C Refrigerant Pressure Sensor Signal |
| 21 | D-BU | 1936 | Fuel Level Sensor Signal |
| 22 | BN/WH | 633 | Camshaft Position (CMP) Sensor Signal |
| 23 | - | - | Not Used |
| 24 | BK/WH | 251 | Ground |
| 25 | BK/WH | 51 | Ground |
| 26 | - | - | Not Used |
| 27 | L-BU | 772 | Octane Switch Signal (Non-OBD) |
| BK/WH | 251 | Ground (Euro Emissions) | |
| 28 | BK/WH | 251 | Ground |
| 29 | PK | 539 | Ignition 1 Voltage |
| 30 | OG | 440 | Battery Positive Voltage |
| 31 | WH | 423 | Ignition Coil (IC) Timing Control (2 and 3) |
| 32 | OG | 406 | Ignition Coil (IC) Timing Control (1 and 4) |
| 33 | BK/WH | 251 | Ground |
| 34 | - | - | Not Used |
| 35 | BN/WH | 1666 | Heated Oxygen Sensor (HO2S) 1 Signal |
| 36 | - | - | Not Used |
| 37 | WH/BK | 962 | Intake Manifold Tuning Valve Solenoid Control |
| 38 | - | - | Not Used |
| 39 | BN/WH | 419 | Multifunction Indicator Lamp (MIL) Control |
| 40 | PU | 30 | Fuel Level Sensor Signal |
| 41 | PU | 67 | A/C Compressor Clutch Relay Coil Control Signal |
| 42 | YE/BK | 496 | Knock Sensor (KS) Signal |
| 43 | D-GN | 534 | High Idle Switch Signal |
| 44 | PU/WH | 1665 | Heated Oxygen Sensor (HO2S) 1 Low Reference (OBD) |
| O2 Sensor Signal (Non OBD) | |||
| 45 | BN | 1456 | Exhaust Gas Recirculation (EGR) Valve Position Signal |
| 46 | GY | 605 | 5-Volt Reference |
| 47-49 | - | - | Not Used |
| 50 | L-BU/BK | 1688 | 5-Volt Reference |
| 51 | D-GN/WH | 817 | Vehicle Speed Signal (Manual Transmission) |
| 52 | D-GN/WH | 762 | A/C Request Signal |
| 53 | WH | 873 | Rough Road Sensor Signal |
| D-BU | 876 | Rough Road Sensor Signal w/ABS | |
| 54 | D-BU/WH | 1869 | Low Reference |
| 55 | PK | 427 | Idle Speed Control Motor Switch Signal |
| 56 | BN | 2000 | Keyword Serial Data |
| 57 | YE | 710 | CAN Serial Data Low (Automatic Transmission) |
| 58 | - | - | Not Used |
| 59 | BK | 1744 | Fuel Injector 1 Control |
| 60 | PK/BK | 1746 | Fuel Injector 3 Control |
| 61 | D-BU | 426 | Idle Motor Return |
| 62 | L-BU | 425 | Idle Motor Feed |
| 63 | - | - | Not Used |
| 64 | BN/WH | 1671 | Heated Oxygen Sensor (HO2S) 2 Heater Control |
| 65 | D-GN/WH | 428 | EVAP Canister Purge Solenoid Control |
| 66 | PK/BK | 1846 | Ignition 1 Voltage |
| 67 | BK/WH | 251 | Ground |
| 68 | WH | 121 | Engine Speed Signal |
| 69 | GY | 435 | Exhaust Gas Recirculation (EGR) Solenoid Low Control (Non OBD) |
| 70-73 | - | - | Not Used |
| 74 | D-BU | 417 | Throttle Position (TP) Sensor Signal |
| 75 | L-GN | 432 | Manifold Absolute Pressure (MAP) Sensor Signal |
| 76 | YE | 410 | Engine Coolant Temperature (ECT) Sensor Signal |
| 77 | - | - | Not Used |
| 78 | BN | 472 | Intake Air Temperature (IAT) Sensor Signal |
| 79 | GY | 416 | 5-Volt Reference |
| 80 | - | - | Not Used |
| 81 | PU | 773 | Octane Switch Signal |
| 82 | - | - | Not Used |
| 83 | BN | 990 | Power Steering Pressure Switch Signal |
| 84 | OG | 830 | 5-Volt Reference |
| 85 | YE/BK | 1868 | Crankshaft Position (CKP) Sensor Signal |
| 86-87 | - | - | Not Used |
| 88 | PU | 1807 | CAN Serial Data High |
| 89 | L-BU/BK | 844 | Fuel Injector 4 Control |
| 90 | L-GN/BK | 1745 | Fuel Injector 2 Control |