LEMON Manuals: Even more car manuals for everyone
Home >> Chevrolet >> 2004 >> Optra Base, Standard >> Repair and Diagnosis (Single Page) >> Engine Performance >> System >> Engine Controls - 2.0L (L34 GMDAT) - Component Locator >> Component Locator >> Engine Controls Component Views

Engine Controls Component Views

Fig 1: Identifying Manifold Absolute Pressure (MAP), Oil Pressure And Throttle Position (TP) Sensors (L79, LDA, L34)
GM1480966Courtesy of GENERAL MOTORS CORP.
Callout Component Name
1 Manifold Absolute Pressure (MAP) Sensor
2 Engine Oil Pressure Switch
3 Throttle Position (TP) Sensor
4 Idle Air Control (IAC)
Fig 2: View Of Fuel Injectors, Heated Oxygen Sensor (HO2S) 1, Heated Oxygen Sensor (HO2S) 2, Idle Air Control (IAC) Valve And Intake Air Temperature (IAT) Sensor (L34)
GM1480968Courtesy of GENERAL MOTORS CORP.
Callout Component Name
1 Fuel Injector 1
2 Fuel Injector 2
3 Fuel Injector 3
4 Fuel Injector 4
5 Heated Oxygen Sensor (HO2S) 1
6 Heated Oxygen Sensor (HO2S) 2
7 Idle Air Control (IAC) Valve
8 Intake Air Temperature (IAT) Sensor
Fig 3: View Of Crankshaft Position (CKP) Sensors, EVAP Valve And Ignition Coil Modules (L79, LDA, L34)
GM1480971Courtesy of GENERAL MOTORS CORP.
Callout Component Name
1 Evaporative Emissions (EVAP) Canister Purge Solenoid Valve
2 Crankshaft Position (CKP) Sensor
3 Ignition Coil Modules
Fig 4: View Of Engine Control Module (ECM), Engine Coolant Temperature (ECT), Camshaft Position (CMP) And Rough Road Sensors (L79, LDA, L34)
GM1480975Courtesy of GENERAL MOTORS CORP.
Callout Component Name
1 Engine Control Module (ECM)
2 Engine Coolant Temperature (ECT) Sensor
3 Camshaft Position (CMP) Sensor
4 Rough Road Sensor
Fig 5: View Of Exhaust Gas Recirculation (EGR) Valve And Knock Sensor (KS) (L34)
GM1480964Courtesy of GENERAL MOTORS CORP.
Callout Component Name
1 Exhaust Gas Recirculation (EGR) Valve
2 Knock Sensor (KS)
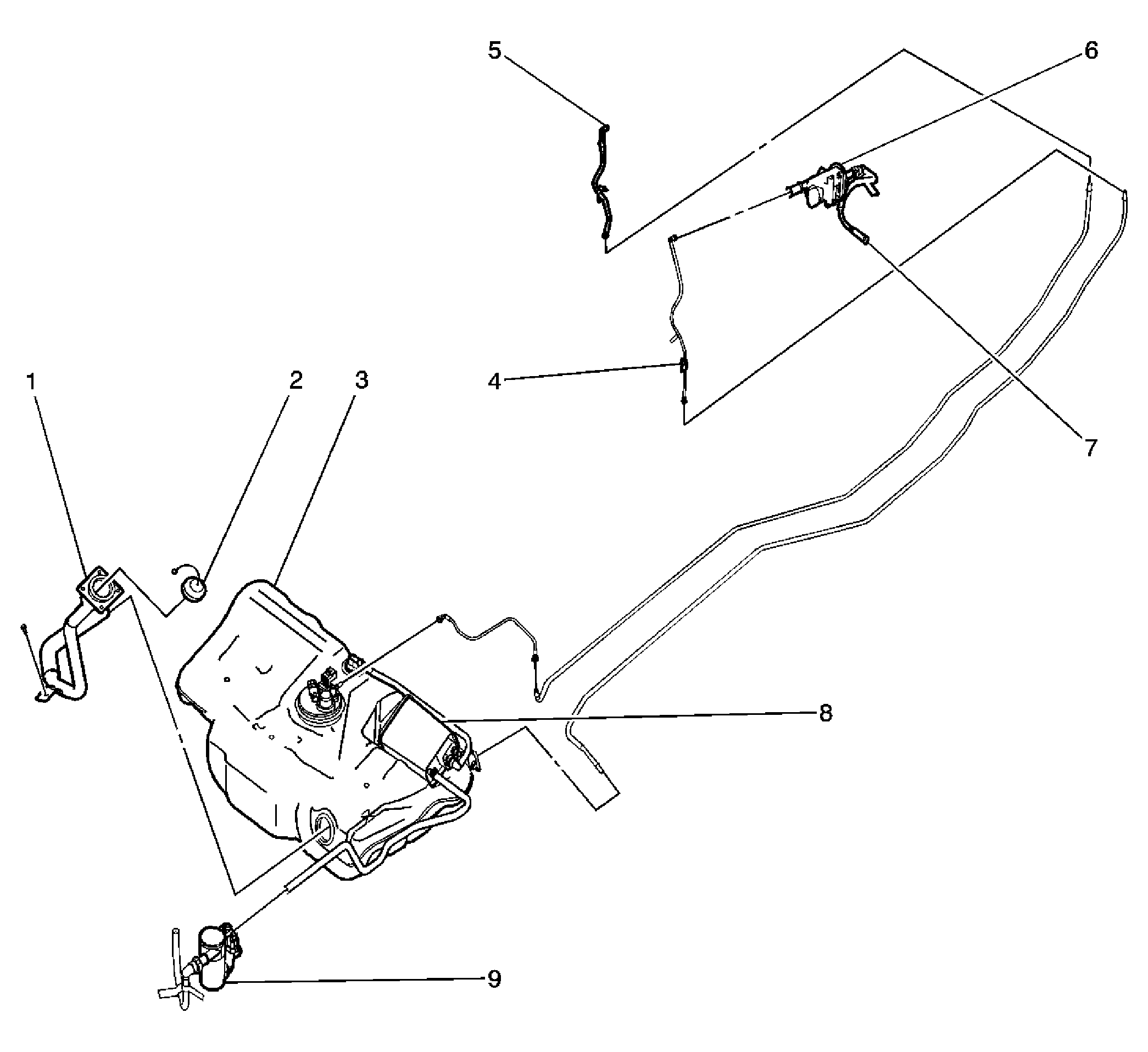
Fig 6: Identifying Fuel Vapor Recovery System Components (L34)
GM1376570Courtesy of GENERAL MOTORS CORP.
Callout Component Name
1 Fuel Tube
2 Fuel Filler Cap
3 Fuel Tank
4 Service Port
5 Fuel Pipe to Fuel Rail
6 Evaporative Emissions (EVAP) Canister Purge Solenoid Valve
7 Vacuum hose to Intake Manifold
8 Evaporative Emissions (EVAP) Canister
9 Evaporative Emissions Canister Vent Solenoid Valve