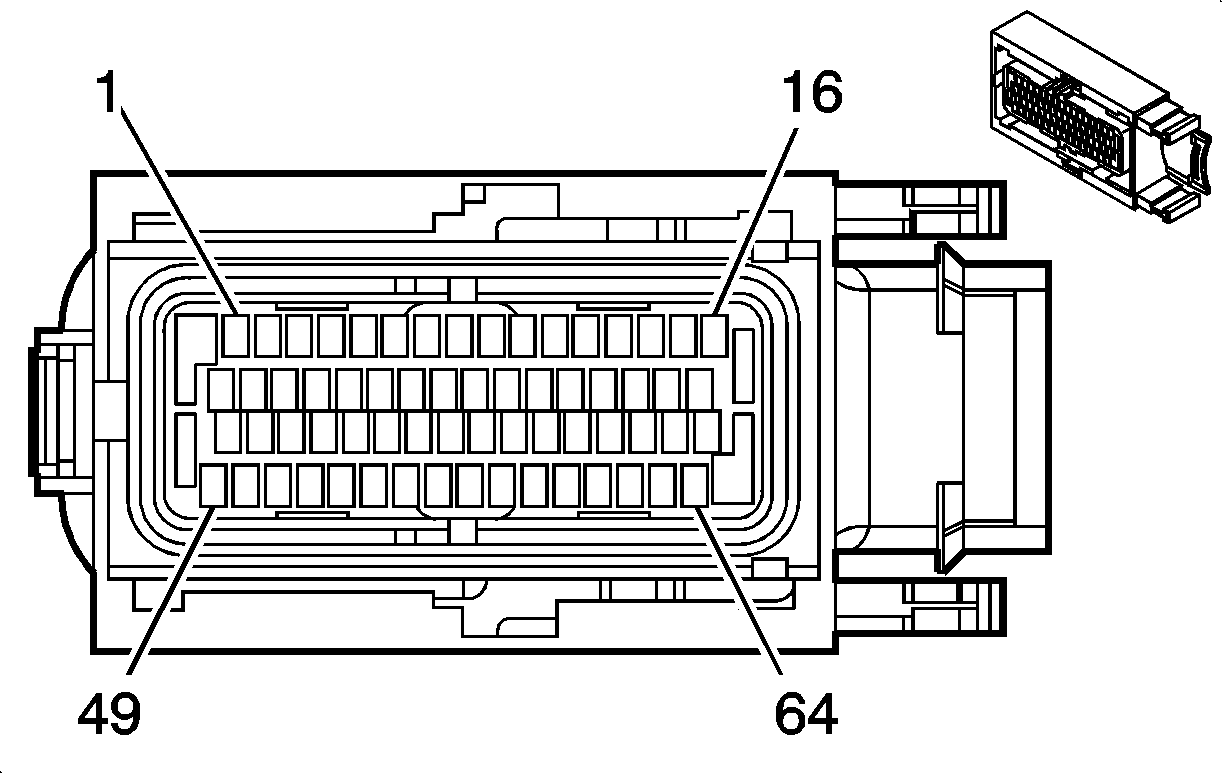
Engine Control Module Connector End Views
Engine Control Module (ECM) K
| Connector Part Information |
|
||
|---|---|---|---|
| Pin | Wire Color | Circuit No. | Function |
| K1 | OG | 440 | Battery Positive Voltage |
| K2-K4 | - | - | Not Used |
| K5 | BK/WH | 51 | Ground (w/Octane Switch) |
| K6 | D-GN/WH | 817 | Vehicle Speed Signal (Manual Transmission) |
| K7 | D-BU | 876 | Rough Road Signal - W/ABS |
| K8-K11 | - | - | Not Used |
| K12 | D-BU | 473 | High Speed Cooling Fan Relay Control |
| K13 | - | - | Not Used |
| K14 | PU | 1807 | CAN Serial Data High |
| K15 | YE | 710 | CAN Serial Data Low |
| K16 | BN/WH | 1669 | Heated Oxygen Sensor (HO2S) 1 Heater Control |
| K17 | OG | 440 | Battery Positive Voltage |
| K18 | PK/D-BU | 539 | Ignition 1 Voltage |
| K19-K20 | - | - | Not Used |
| K21 | D-GN | 602 | Rough Road Sensor Signal (w/o ABS) |
| K22 | L-BU | 380 | A/C Refrigerant Pressure (ACP) Sensor Signal |
| K23 | - | - | Not Used |
| K24 | D-GN | 135 | Engine Coolant Temperature (ECT) Sensor Gauge Signal |
| K25 | GY | 121 | Engine Speed Signal |
| K26-K27 | - | - | Not Used |
| K28 | D-GN/WH | 335 | Low Speed Cooling Fan Relay Control |
| K29 | D-GN | 67 | A/C Clutch Relay Control |
| K30 | WH | 30 | Fuel Level Sensor Signal |
| K31 | - | - | Not Used |
| K32 | PU | 2000 | Serial Data |
| K33 | - | - | Not Used |
| K34 | PU/WH | 632 | Low Reference |
| K35 | D-GN/WH | 762 | A/C Request Signal |
| K36 | PU | 1670 | Heated Oxygen Sensor (HO2S) 2 Signal |
| K37-K47 | - | - | Not Used |
| K48 | L-BU/BK | 1986 | Evaporative Emissions (EVAP) Canister Vent Solenoid Control |
| K49 | - | - | Not Used |
| K50 | GY | 605 | 5-Volt Reference |
| K51 | GY | 1936 | Fuel Level Sensor Signal |
| K52 | YE/D-GN | 890 | Fuel Tank Pressure Sensor Signal |
| K53 | L-GN | 413 | Low Reference |
| K54 | L-GN | 465 | Fuel Pump Relay Control |
| K55-K63 | - | - | Not Used |
| K64 | BN/WH | 419 | Malfunction Indicator Lamp (MIL) Control |
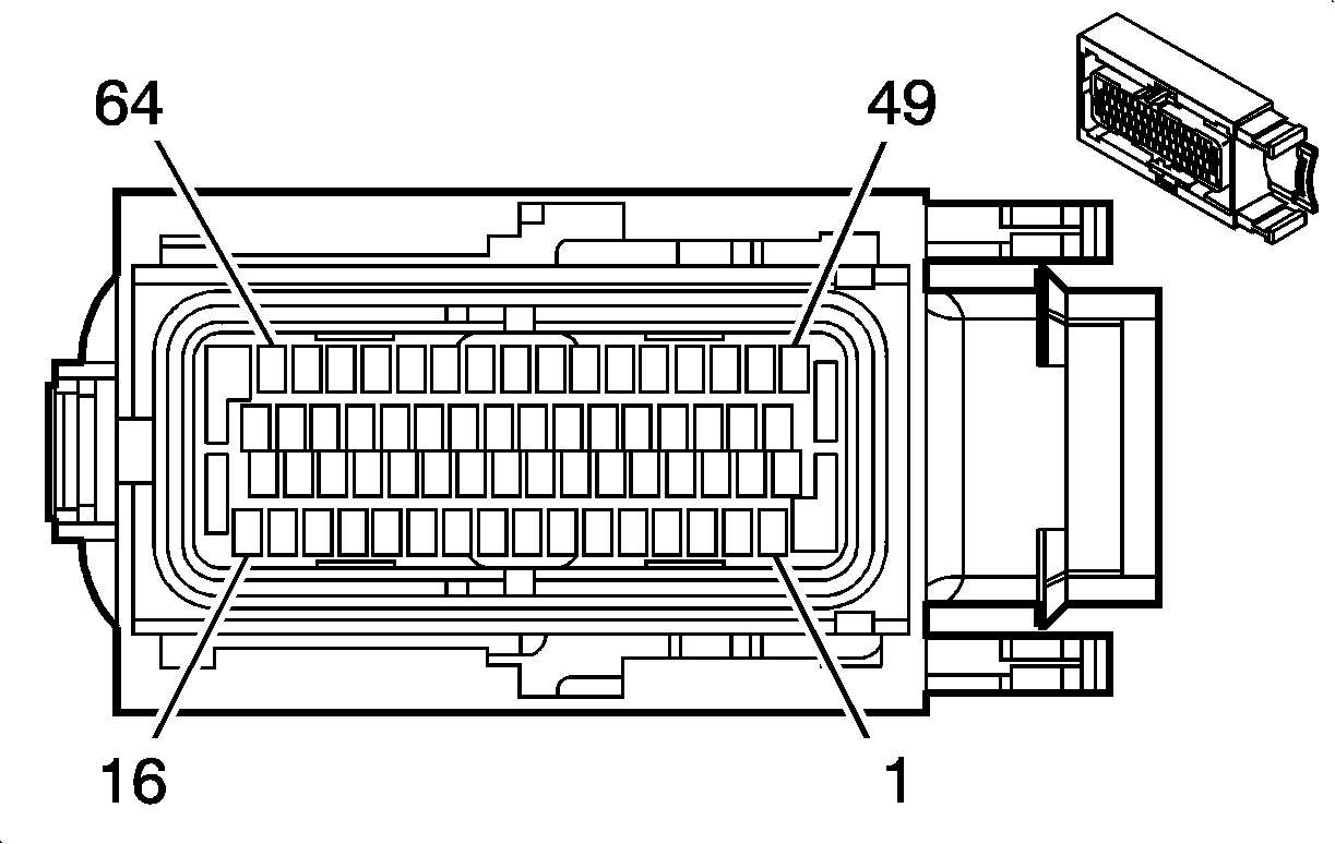
Engine Control Module (ECM) M
| Connector Part Information |
|
||
|---|---|---|---|
| Pin | Wire Color | Circuit No. | Function |
| M1 | L-BU | 406 | Ignition Coil (IC) Timing Control 1 and 4 |
| M2 | BN/BK | 1671 | Heated Oxygen Sensor (HO2S) 2 Heater Control |
| M3 | GY | 120 | Fuel Pump Supply Voltage |
| M4 | WH | 428 | Evaporative Emissions (EVAP) Canister Purge Solenoid Control |
| M5 | YE/BK | 1868 | Low Reference |
| M6 | GY | 417 | Throttle Position (TP) Sensor Signal |
| M7 | GY | 472 | Intake Air Temperature (IAT) Sensor Signal |
| M8 | D-BU/WH | 432 | Manifold Absolute Pressure (MAP) Sensor Signal |
| M9 | WH/BK | 1456 | Exhaust Gas Recirculation (EGR) Valve Position Sensor Signal |
| M10 | - | - | Not Used |
| M11 | D-GN/WH | 844 | Fuel Injector 4 Control |
| M12 | GY | 1653 | Heated Oxygen Sensor (HO2S) 1 Low Reference |
| M13 | BN | 1747 | Idle Air Control (IAC) A High Control |
| M14 | WH | 444 | Idle Air Control (IAC) B Low Control |
| M15 | YE | 1748 | Idle Air Control (IAC) A Low Control |
| M16 | L-BU/BK | 1688 | 5-volt Reference |
| M17 | - | - | Not Used |
| M18 | YE/BK | 496 | Knock Sensor Signal |
| M19 | D-GN | 435 | Exhaust Gas Recirculation (EGR) Solenoid Valve Control |
| M20 | - | - | Not Used |
| M21 | D-BU/WH | 1869 | Crankshaft Position (CKP) Sensor Signal |
| M22 | BN/WH | 1745 | Fuel Injector 2 Control |
| M23 | - | - | Not Used |
| M24 | D-GN/BK | 1746 | Fuel Injector 3 Control |
| M25 | YE/D-BU | 1744 | Fuel Injector 1 Control |
| M26 | PU | 633 | Camshaft Position (CMP) Sensor Signal |
| M27 | - | - | Not Used |
| M28 | L-GN | 410 | Engine Coolant Temperature (ECT) Sensor Signal |
| M29 | D-GN/RD | 1665 | Heated Oxygen Sensor (HO2S) 1 Signal |
| M30 | PU/WH | 1749 | Idle Air Control (IAC) Coil B High Control |
| M31 | - | - | Not Used |
| M32 | D-GN/WH | 416 | 5-volt Reference |
| M33 | L-BU | 406 | Ignition Coil (IC) Timing Control (1 and 4) |
| M34 | - | - | Not Used |
| M35 | D-GN/WH | 423 | Ignition Coil (IC) Timing Control (2 and 3) |
| M36 | - | - | Not Used |
| M37 | BK/WH | 51 | Ground |
| M38 | BK/WH | 51 | Ground |
| M39 | BK/WH | 51 | Ground |
| M40 | BK/WH | 51 | Ground |
| M41 | BK/WH | 51 | Ground |
| M42-M47 | - | - | Not Used |
| M48 | OG/BK | 469 | Low Reference |
| M49-M50 | - | - | Not Used |
| M51 | D-GN/WH | 423 | Ignition Coil (IC) Timing Control (2 and 3) |
| M52 | D-GN | 435 | Exhaust Gas Recirculation (EGR) Valve Control |
| M53-M63 | - | - | Not Used |
| M64 | BK | 808 | Low Reference |