LEMON Manuals: Even more car manuals for everyone
Home >> Chevrolet >> 2004 >> Optra Base, Standard >> Repair and Diagnosis (Single Page) >> Engine Mechanical >> Exhaust System >> Component Locator >> Engine Exhaust System Component Views

Engine Exhaust System Component Views

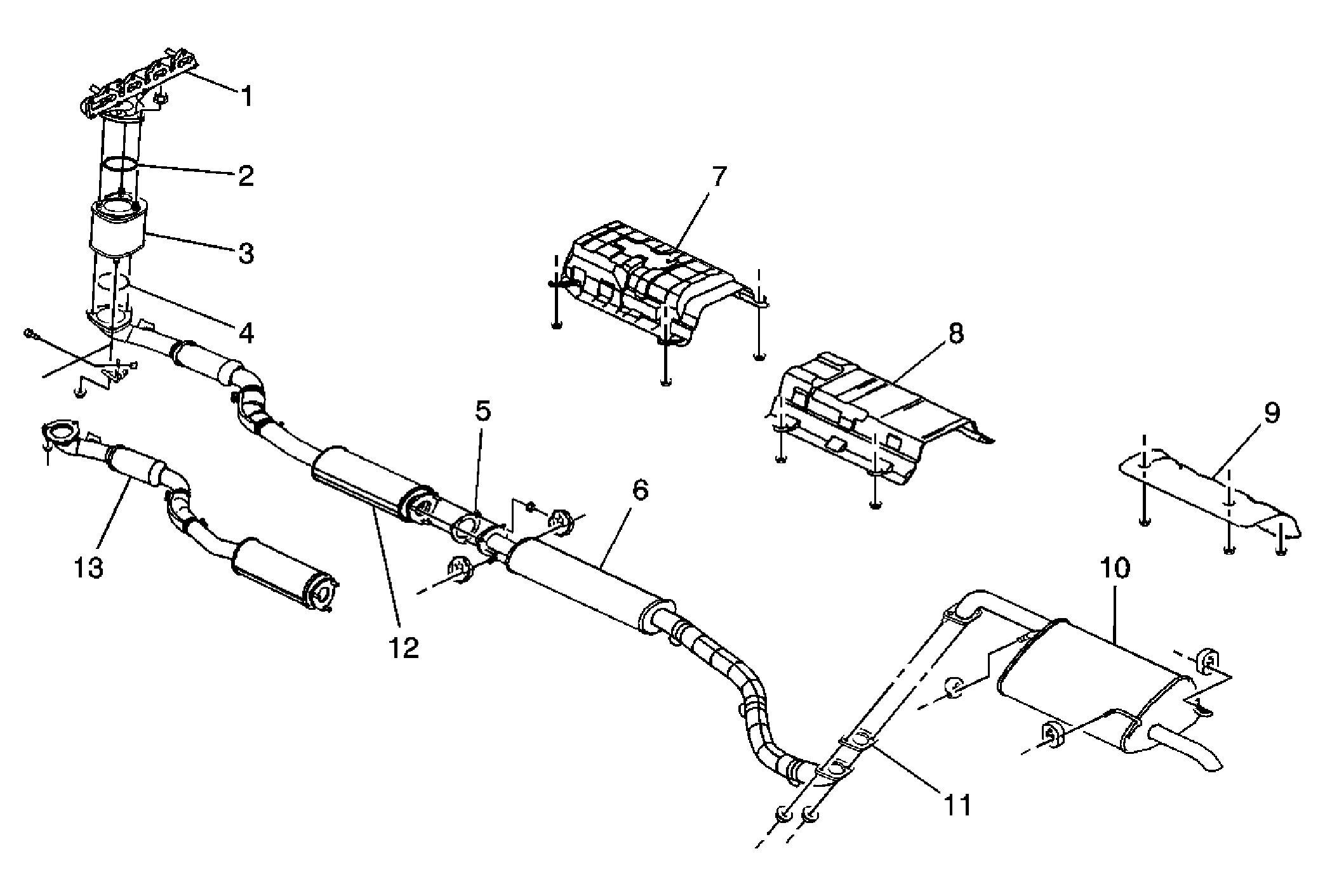
Fig 1: Identifying Exhaust System Components
GM1291727Courtesy of GENERAL MOTORS CORP.
Callout Component Name
1 Exhaust Manifold
2 Exhaust Front Pipe Gasket
3 Catalytic Converter
4 Exhaust Pipe Front Gasket
5 Muffler Gasket
6 Exhaust Front Muffler
7 Catalytic Converter Protective Shield
8 Front Muffler Protective Shield
9 Rear Muffler Protective Shield
10 Exhaust Rear Muffler
11 Muffler Gasket
12 Exhaust Front Pipe-1.8L, 2.0L
13 Exhaust Front Pipe-1.6L