LEMON Manuals: Even more car manuals for everyone
Home >> Chevrolet >> 2004 >> Optra Base, Standard >> Repair and Diagnosis (Single Page) >> Engine Mechanical >> Cooling System (Mechanical) >> Engine Cooling System >> Component Locator >> Cooling System Component Views

Cooling System Component Views

Fig 1: Identifying Radiator And Cooling Fan Components
GM1291587Courtesy of GENERAL MOTORS CORP.
Callout Component Name
1 Radiator
2 Front Upper Center Panel
3 Upper Radiator Bumper
4 Holder Transmission Fluid Pipe - Automatic Transmission Only
5 Lower Radiator Bumper
6 Spring Clamp
7 Upper Radiator Hose
8 Drain Cock
9 Auxiliary Cooling Fan
10 Main Cooling Fan
Fig 2: Identifying Water Pump/Thermostat Components (1.4L/1.6L)
GM1291588Courtesy of GENERAL MOTORS CORP.
Callout Component Name
1 Cylinder Block Seal Ring
2 Seal Ring
3 Thermostat Housing
4 Bolt
5 Bolt
6 Water Pump
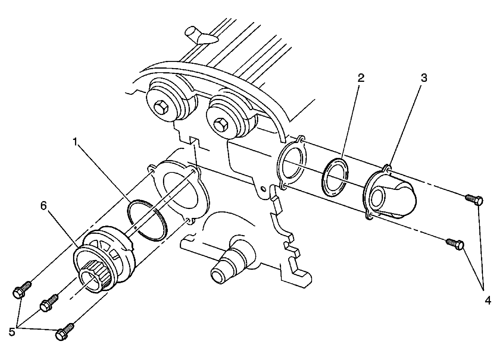
Fig 3: Identifying Water Pump/Thermostat Components (1.8L/2.0L)
GM1291597Courtesy of GENERAL MOTORS CORP.
Callout Component Name
1 Seal Ring
2 Thermostat
3 Thermostat Housing
4 Thermostat Housing Mounting Bolt
5 Coolant Pump Mounting Bolt
6 Coolant Pump
7 Seal Ring