LEMON Manuals: Even more car manuals for everyone
Home >> Chevrolet >> 2004 >> Impala SS >> Repair and Diagnosis >> External Pages >> Different car >> Section 249 (Wiring Systems - Component Views) >> Master Electrical Component List >> Electrical Center Identification Views >> Fuse Block - I/P C2

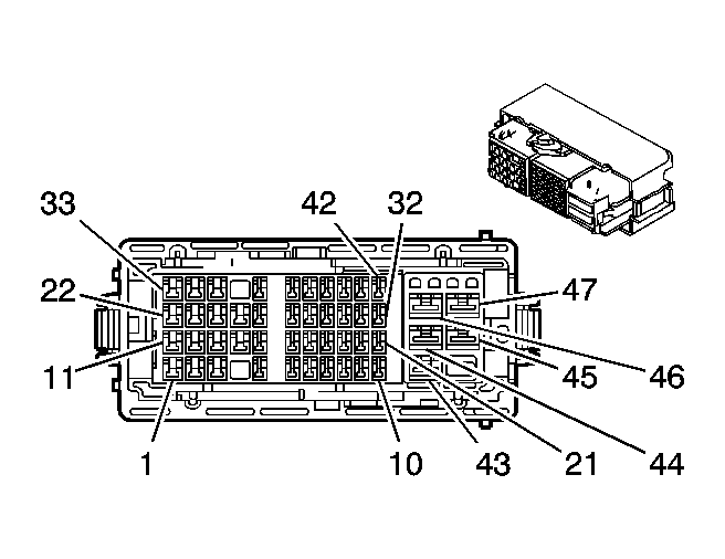
Fuse Block - I/P C2

WARNING: This page is about a different car, the 2006 Pontiac Montana SV6, 2006 Chevrolet Uplander, and 2006 Buick Terraza. However, it is still accessible from the selected car via links, so may be relevant.
Fig 1: Identifying Fuse Block - I/P C2
GM1538764Courtesy of GENERAL MOTORS CORP.
Electrical Center Identification Views

Connector Part Information 
  • OEM: 15486516
  • Service: See Catalog
  • Description: 47-Way F Receptacle 1.5, 2.8, 6.3 Series (NA)
Terminal Part Information 
  • Pins: 2-3, 11, 22
  • Terminal/Tray: 15304711/Tray 8
  • Core/Insulation Crimp: 2/A
  • Release Tool/Test Probe: 15315247/J-35616-4A
  • Pins: 4, 36, 38
  • Terminal/Tray: 12191812/Tray 19
  • Core/Insulation Crimp: C/A
  • Release Tool/Test Probe: 15315247/J-35616-2A (GY)
  • Pins: 9-10, 19, 40-42
  • Terminal/Tray: 8100-4339/Tray 22
  • Core/Insulation Crimp: E/C
  • Release Tool/Test Probe: 15315247/J-38616-2A
  • Pins: 14, 23, 25, 35
  • Terminal/Tray: 15304713/Tray 19
  • Core/Insulation Crimp: Pins 14, 23: 4/4
  • Core/Insulation Crimp: Pins 25, 35: F/D
  • Release Tool/Test Probe: 15315247/J-35616-4A
  • Pins: 43, 45-46
  • Terminal/Tray: 7116-4121-02/Tray 10
  • Core/Insulation Crimp: C/A
  • Release Tool/Test Probe: 12094430/J-35616-42
Fuse Block - I/P C2

Pin Wire Color Circuit No. Function
1 - - Not Used
2 RD/WH 1440 Battery Positive Voltage
3 - - Not Used
4 OG 2267 Mirror Heating Element Supply Voltage
5-8 - - Not Used
9 RD/WH 2840 Battery Positive Voltage
10 RD/WH 1840 Battery Positive Voltage
11 YE 643 Accessory Voltage
12-13 - - Not Used
14 RD/WH 1140 Battery Positive Voltage
15-18 - - Not Used
19 WH 193 Rear Defog Relay Control
20-21 - - Not Used
22 RD/WH 2040 Battery Positive Voltage
23 RD/WH 1140 Battery Positive Voltage
24 - - Not Used
25 YE 143 Accessory Voltage
26-34 - - Not Used
35 RD/WH 140 Battery Positive Voltage
36 RD/WH 440 Battery Positive Voltage
37 - - Not Used
38 YE 843 Accessory Voltage
39 - - Not Used
40 GY 8 Instrument Panel Lamp Supply Voltage
41 PK 739 Ignition 1 Voltage
42 RD/WH 840 Battery Positive Voltage
43 RD/BK 2940 Battery Positive Voltage
44 - - Not Used
45 RD/WH 1940 Battery Positive Voltage
46 D-GN 1927 Rear Window Defog Supply Voltage
47 - - Not Used