LEMON Manuals: Even more car manuals for everyone
Home >> Chevrolet >> 2004 >> Impala SS >> Repair and Diagnosis >> Engine Performance >> System >> Engine Control System 3.8L (Introduction) >> Repair Instructions >> Air Cleaner Assembly Replacement >> Installation Procedure

Installation Procedure

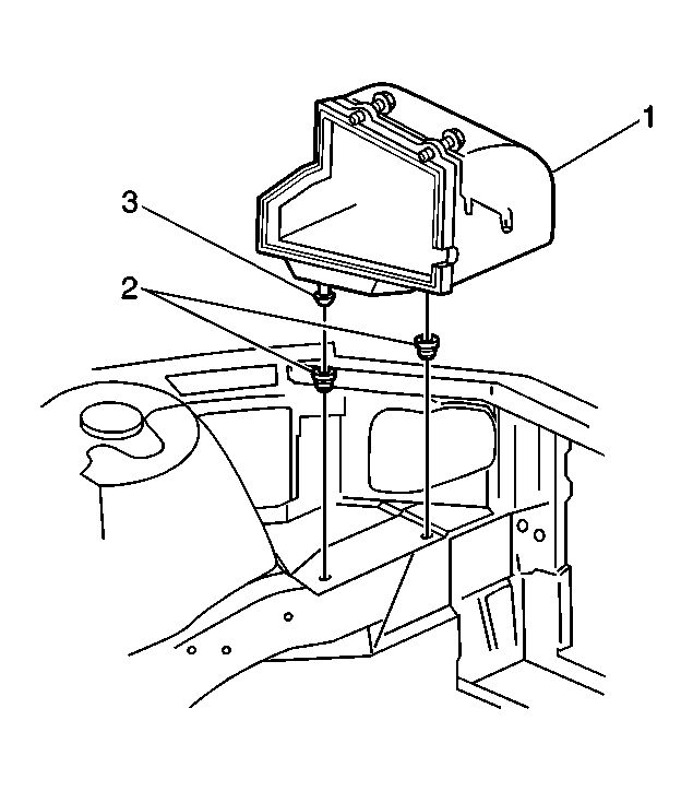
  1. Install the air cleaner housing by pushing the housing into the 2 rubber grommets (2) in the engine compartment.
  2. Fig 1: Installing Air Cleaner Housing
    GM444479Courtesy of GENERAL MOTORS CORP.
  3. Install the PCM (4) and the harness into the air cleaner housing (1).
  4. Install the air cleaner housing cover assembly (1).
  5. NOTE: Refer to Fastener Notice in Cautions and Notices.
  6. Install the 2 screws (2) into the 2 air cleaner housing sections.

    Tighten:  Tighten the screws to 4 N.m (35 lb in).

  7. Fig 2: View Of Air Cleaner Housing, Bolts, PCM & Harness
    GM444496Courtesy of GENERAL MOTORS CORP.
  8. Install the air cleaner intake duct. Refer to Air Cleaner Intake Duct Replacement .
  9. Install the left inner fender brace. Refer to Brace Replacement - Front Fender Upper Diagonal in Body Front End.