LEMON Manuals: Even more car manuals for everyone
Home >> Chevrolet >> 2004 >> Impala SS >> Repair and Diagnosis (Single Page) >> Quick Lookups >> Wiring Diagrams >> OEM Connector End Views >> Connector End Views >> Inflatable Restraint Side Impact Module-LF Connector End View

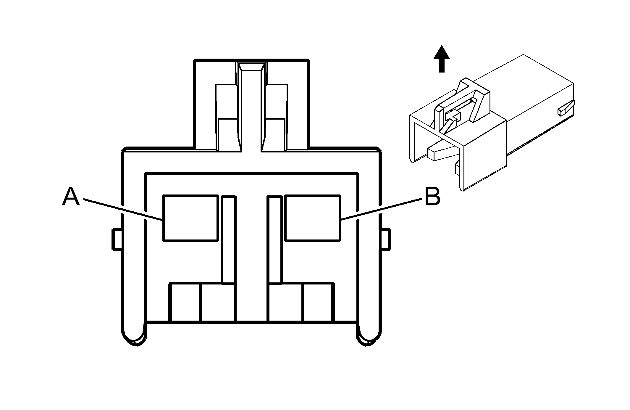
Inflatable Restraint Side Impact Module-LF Connector End View

Inflatable Restraint Side Impact Module-LF Connector End View

GM130685Courtesy of GENERAL MOTORS CORP.
Connector Part Information
  • 12110288
  • 2-Way M Metri-Pack 280 Series (YEL)
Pin Wire Color Circuit No. Function
A DK GRN 2105 Side Impact Module - Left - High Control
B BRN 2106 Side Impact Module - Left - Low Control