LEMON Manuals: Even more car manuals for everyone
Home >> Chevrolet >> 2004 >> Impala SS >> Repair and Diagnosis (Single Page) >> Engine Performance >> System >> Engine Control System 3.8L (Introduction) >> Schematic and Routing Diagrams >> Engine Controls Schematics

Engine Controls Schematics

Fig 1: Data Link, Grounds, MIL, and Power Schematic
GM903152Courtesy of GENERAL MOTORS CORP.
Fig 2: 5 Volt and Low Reference Bussing Schematic
GM1284579Courtesy of GENERAL MOTORS CORP.
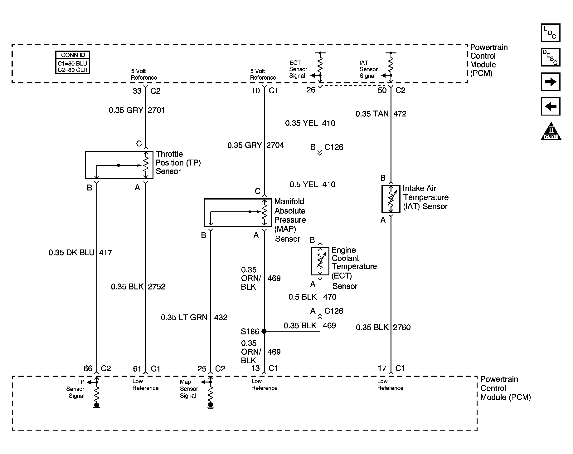
Fig 3: ECT, IAT, MAP, and TP Sensors Schematic
GM1254722Courtesy of GENERAL MOTORS CORP.
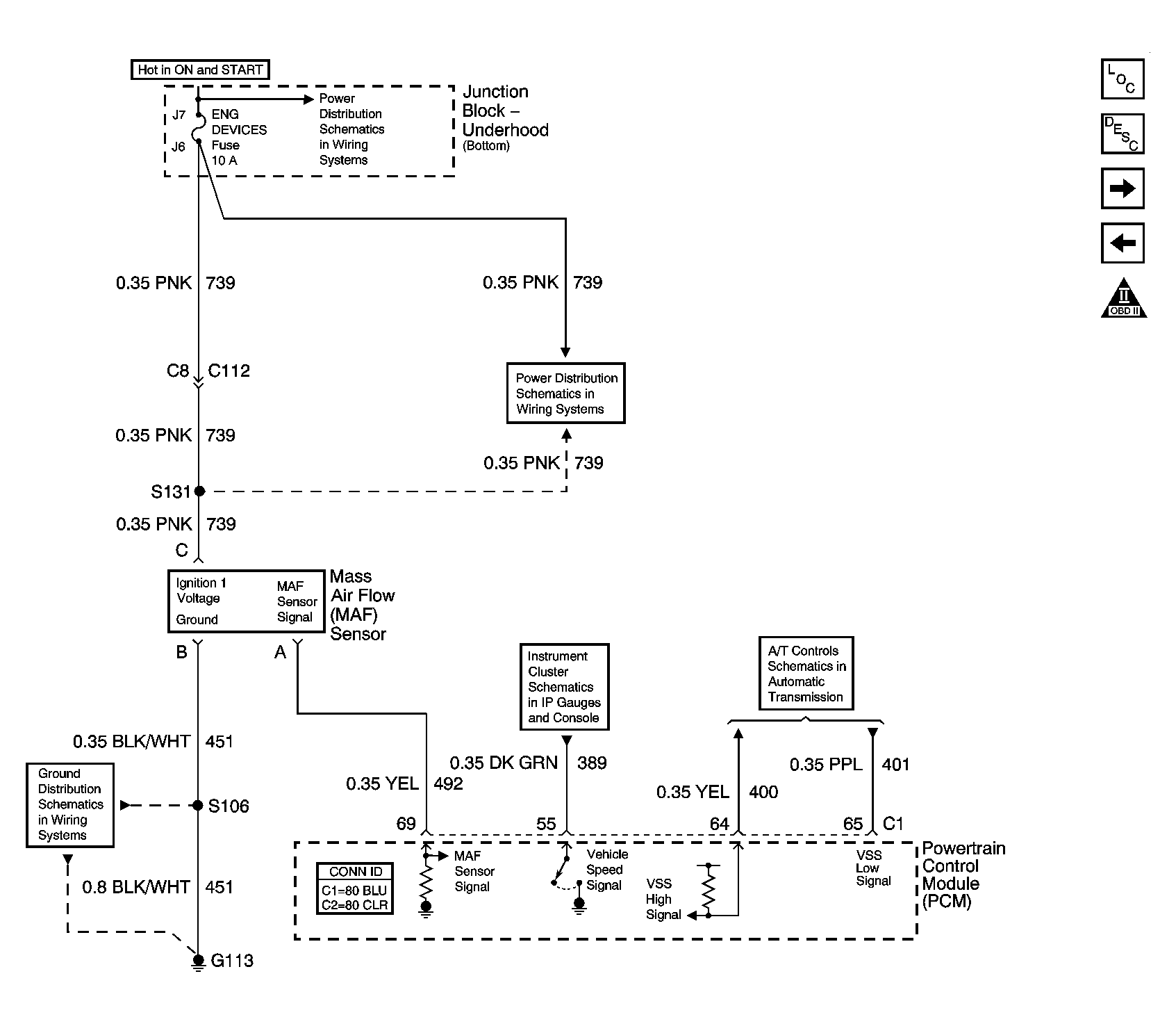
Fig 4: MAF and VSS Schematic
GM1284582Courtesy of GENERAL MOTORS CORP.
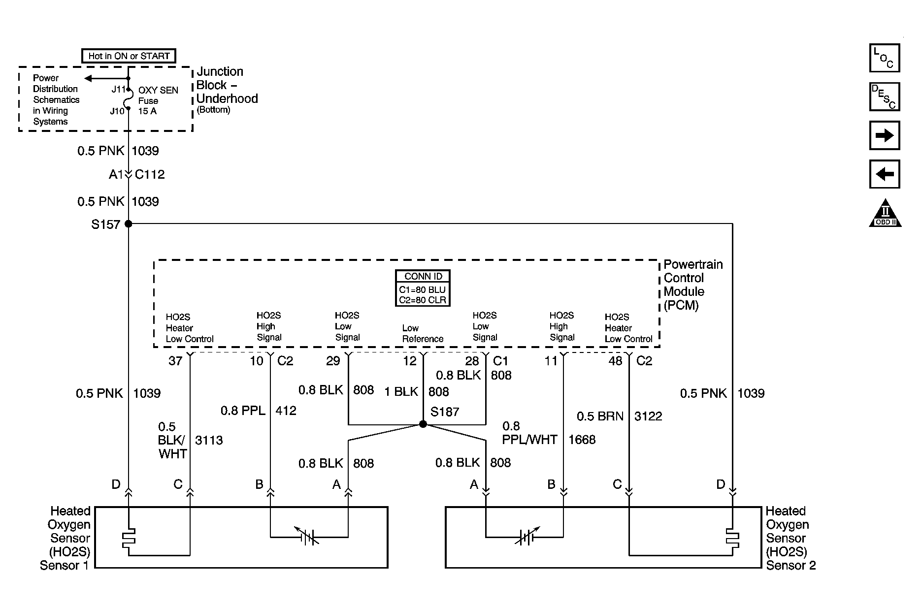
Fig 5: HO2S Schematic
GM1284583Courtesy of GENERAL MOTORS CORP.
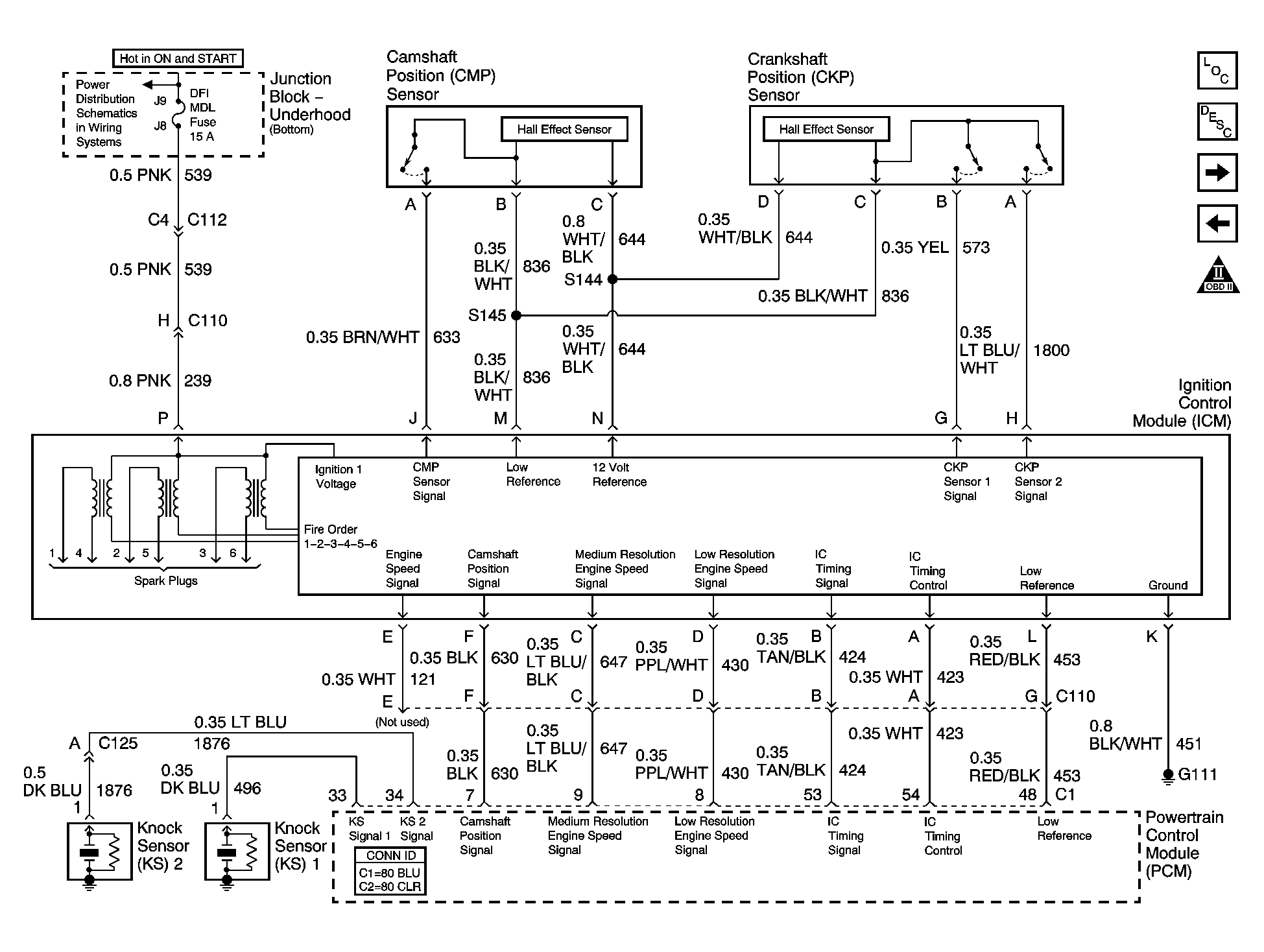
Fig 6: Ignition Control Schematic
GM1284585Courtesy of GENERAL MOTORS CORP.
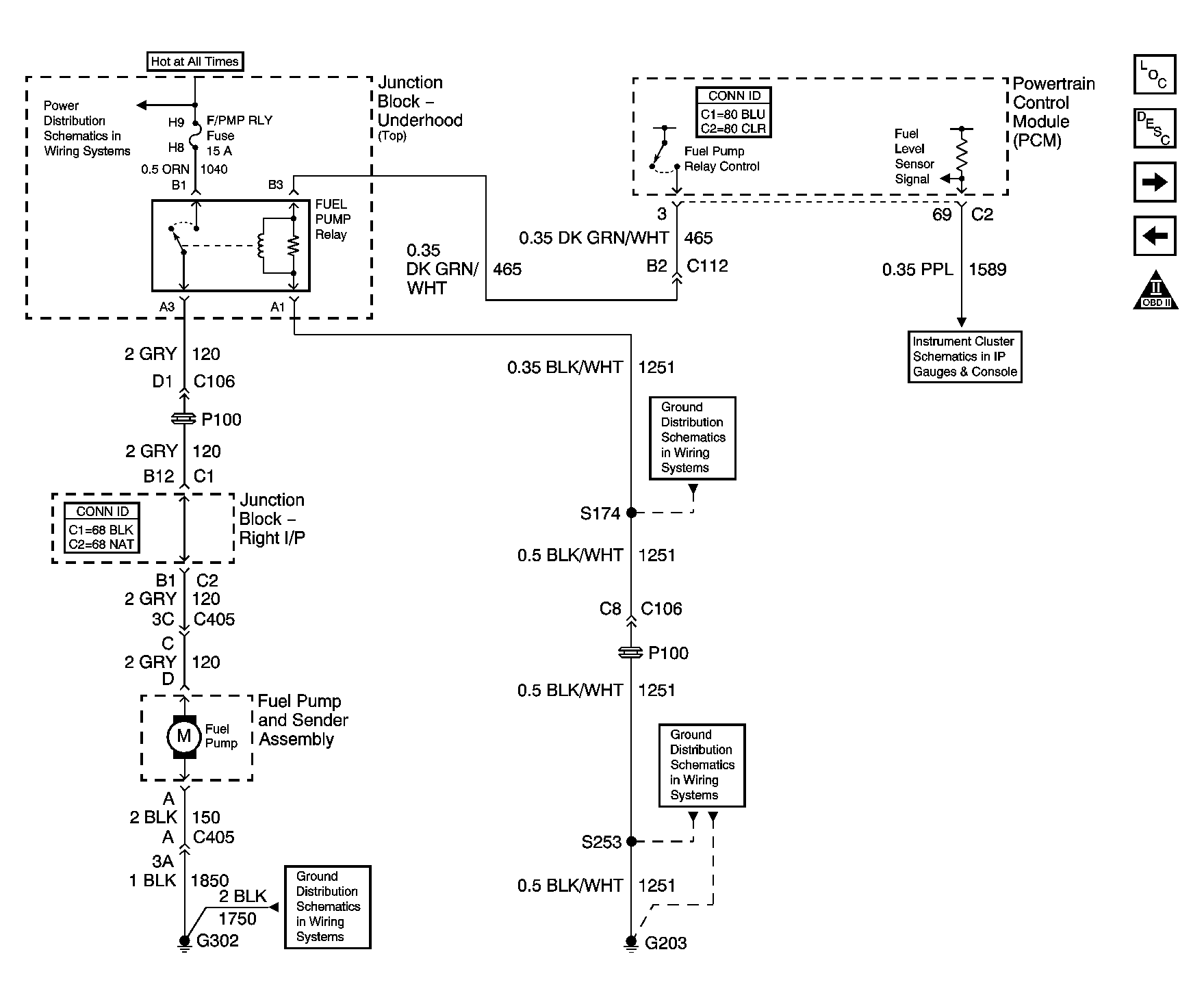
Fig 7: Fuel Pump Schematic
GM1284611Courtesy of GENERAL MOTORS CORP.
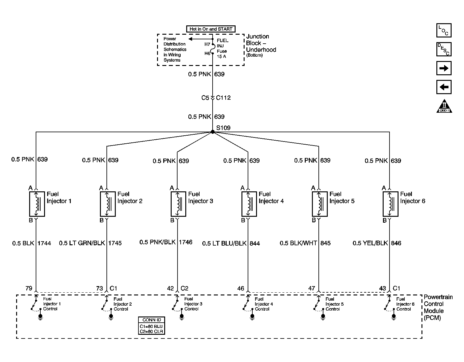
Fig 8: Fuel Injectors Schematic
GM798652Courtesy of GENERAL MOTORS CORP.
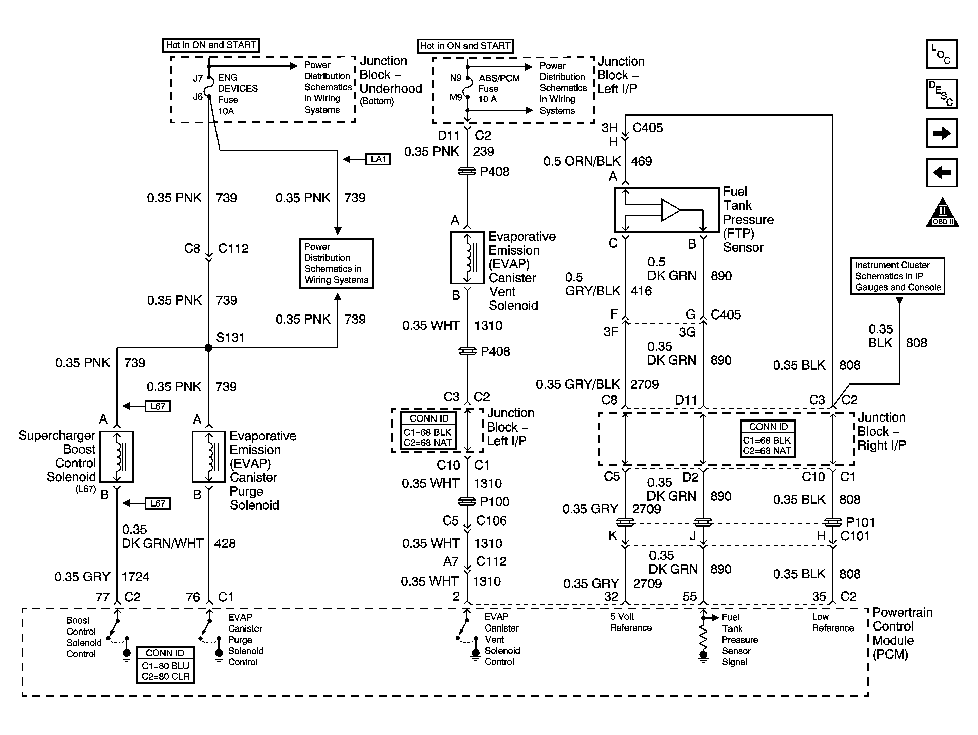
Fig 9: Boost Control Solenoid, EVAP, and FTP Schematic
GM1284615Courtesy of GENERAL MOTORS CORP.
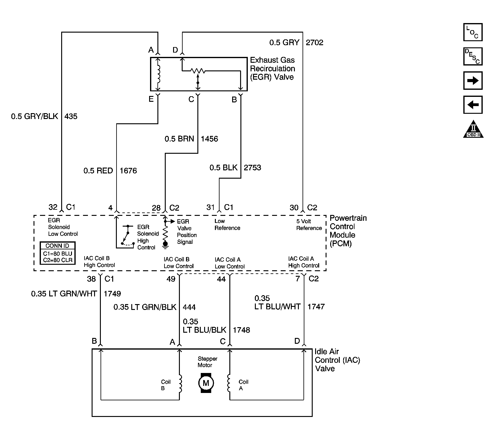
Fig 10: EGR and IAC Schematic
GM885103Courtesy of GENERAL MOTORS CORP.
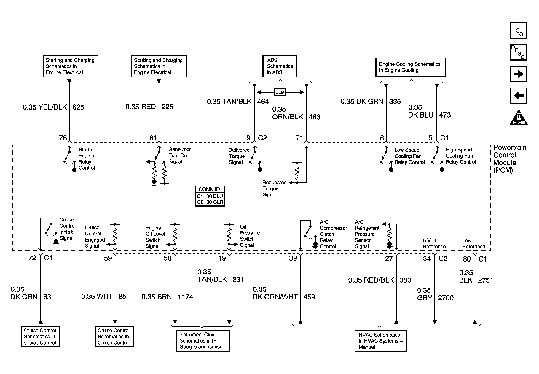
Fig 11: Subsystem References Schematic
GM879139Courtesy of GENERAL MOTORS CORP.
Fig 12: A/T References Schematic
GM885104Courtesy of GENERAL MOTORS CORP.