LEMON Manuals: Even more car manuals for everyone
Home >> Chevrolet >> 2004 >> Impala SS >> Repair and Diagnosis (Single Page) >> Engine Performance >> System >> Engine Control System 3.8L (Introduction) >> Repair Instructions >> Ignition Control Module Replacement >> Installation Procedure

Installation Procedure

  1. Install the ignition control module to the bracket.
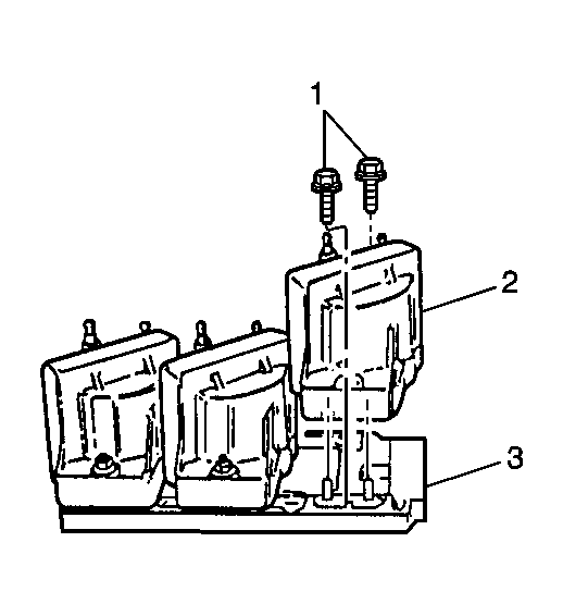
  2. Install the ignition coils (2) to the ignition control module (3).
  3. NOTE: Refer to Fastener Notice in Cautions and Notices.
  4. Install the ignition coil screws (1).

    Tighten:  Tighten the screws to 4.5 N.m (40 lb in).

  5. Connect the spark plug wires.
  6. Connect the 14-way electrical connector to the module.

    Tighten:  Tighten the screw to 2.1 N.m (19 lb in).

  7. Connect the negative battery cable. Refer to Battery Negative Cable Disconnect/Connect Procedure in Engine Electrical.
  8. Fig 1: View Of Ignition Coil Module And Module Mounting Bracket
    GM12299Courtesy of GENERAL MOTORS CORP.