LEMON Manuals: Even more car manuals for everyone
Home >> Chevrolet >> 2004 >> Classic >> Repair and Diagnosis >> External Pages >> Different car >> Section 46 (Shift Lock Control System) >> Schematic and Routing Diagrams >> Automatic Transmission Shift Lock Control Schematics

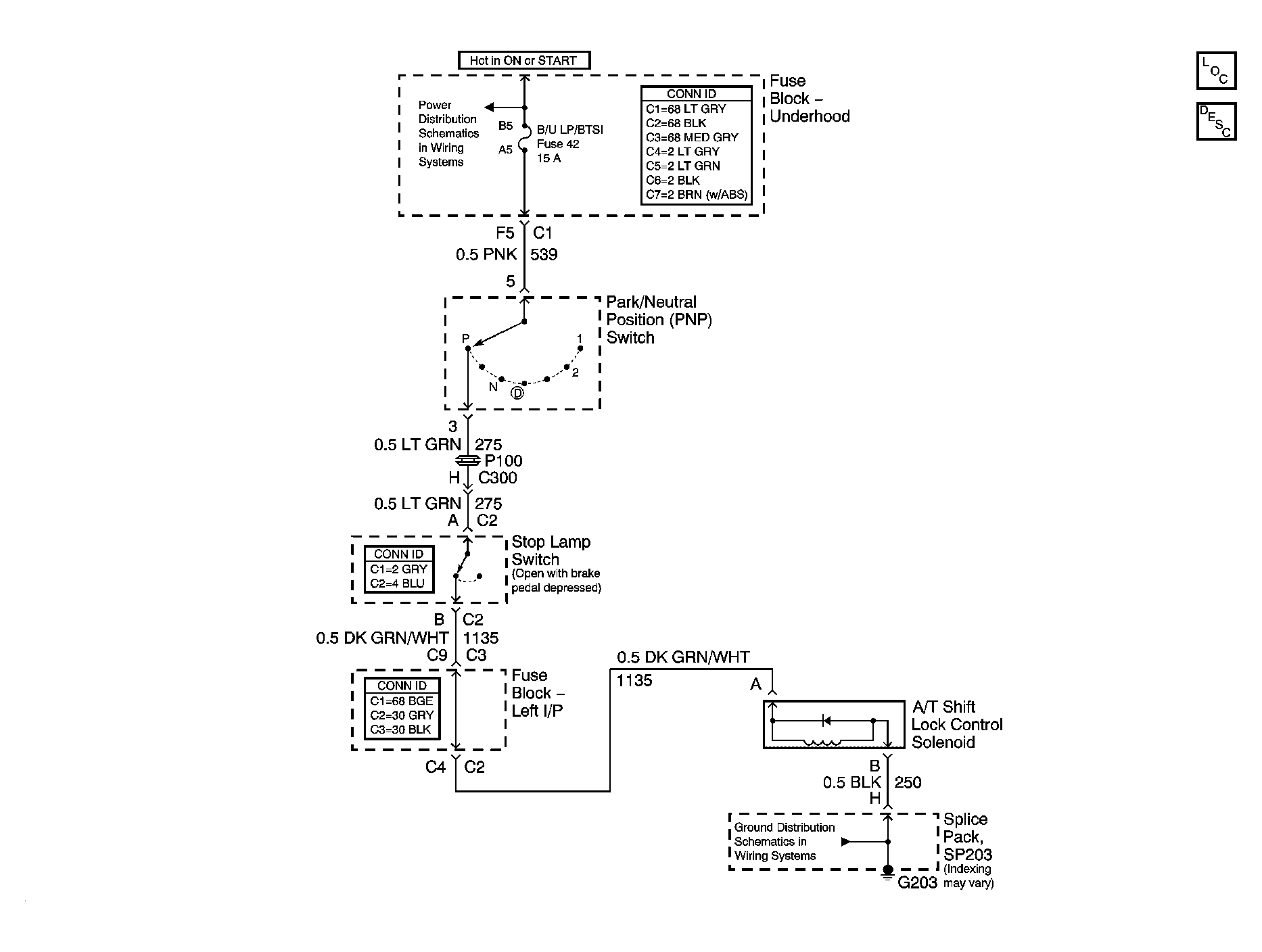
Automatic Transmission Shift Lock Control Schematics

WARNING: This page is about a different car, the 2004 Pontiac Grand Am and 2004 Oldsmobile Alero. However, it is still accessible from the selected car via links, so may be relevant.
Fig 1: Automatic Transmission Shift Lock Control Schematic
GM1217215Courtesy of GENERAL MOTORS CORP.