LEMON Manuals: Even more car manuals for everyone
Home >> Chevrolet >> 2004 >> Classic >> Repair and Diagnosis >> External Pages >> Different car >> Section 19 (Body Control System) >> Schematic and Routing Diagrams >> Body Control System Schematics

Body Control System Schematics

WARNING: This page is about a different car, the 2004 Pontiac Grand Am and 2004 Oldsmobile Alero. However, it is still accessible from the selected car via links, so may be relevant.
Fig 1: Power, Ground and Controlled/Monitored References Schematic
GM1340740Courtesy of GENERAL MOTORS CORP.
Fig 2: Controlled/Monitored Lighting References Schematic
GM880027Courtesy of GENERAL MOTORS CORP.
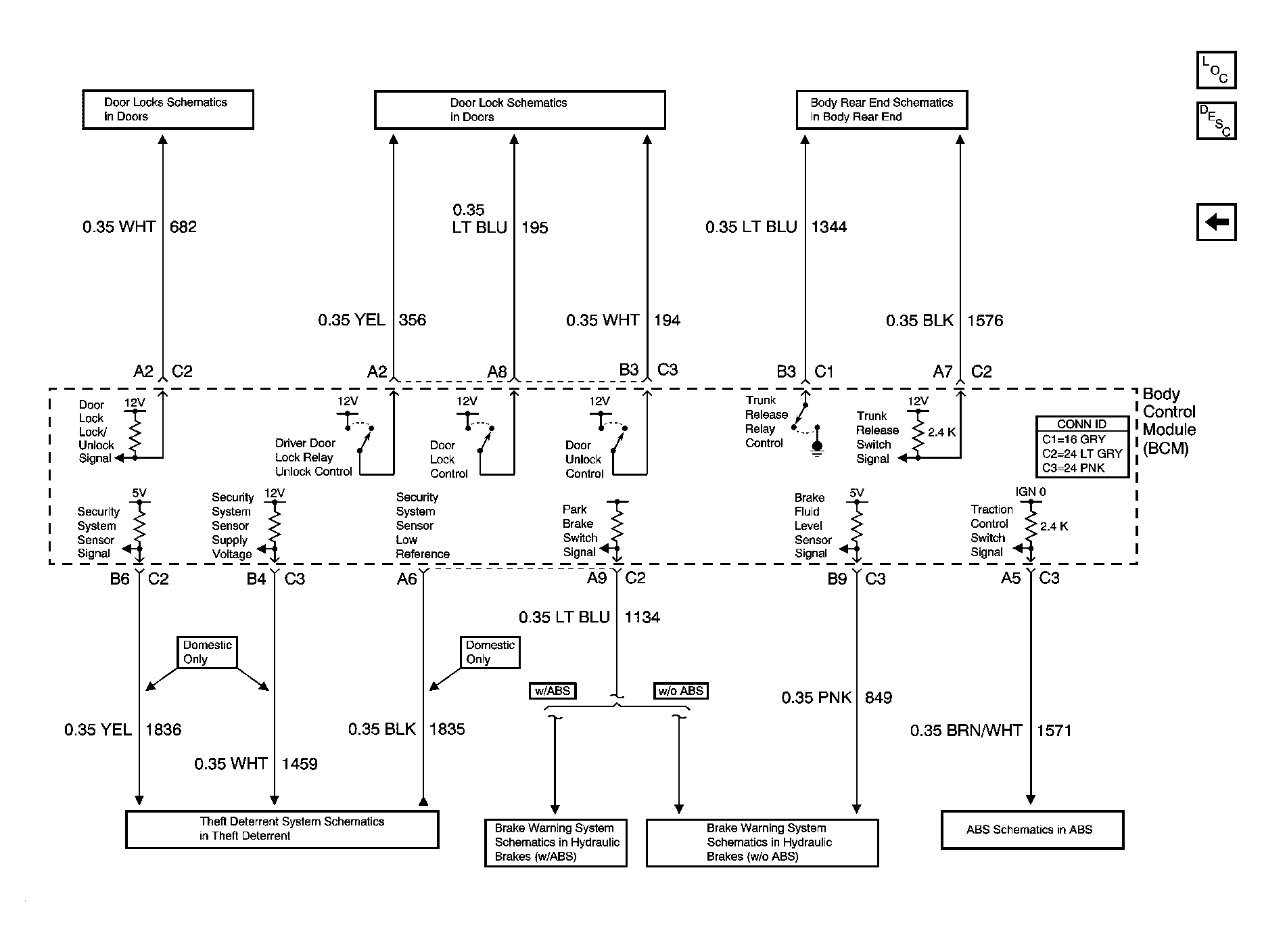
Fig 3: Controlled/Monitored Lock, Theft Deterrent, Brake References Schematic
GM869601Courtesy of GENERAL MOTORS CORP.