LEMON Manuals: Even more car manuals for everyone
Home >> Chevrolet >> 2004 >> Classic >> Repair and Diagnosis >> Engine Performance >> System >> Engine Control System (Introduction) - 2.2L (L61) >> Description and Operation >> Electronic Ignition (EI) System Description >> Ignition Control Module (ICM) and Ignition Coils

Ignition Control Module (ICM) and Ignition Coils

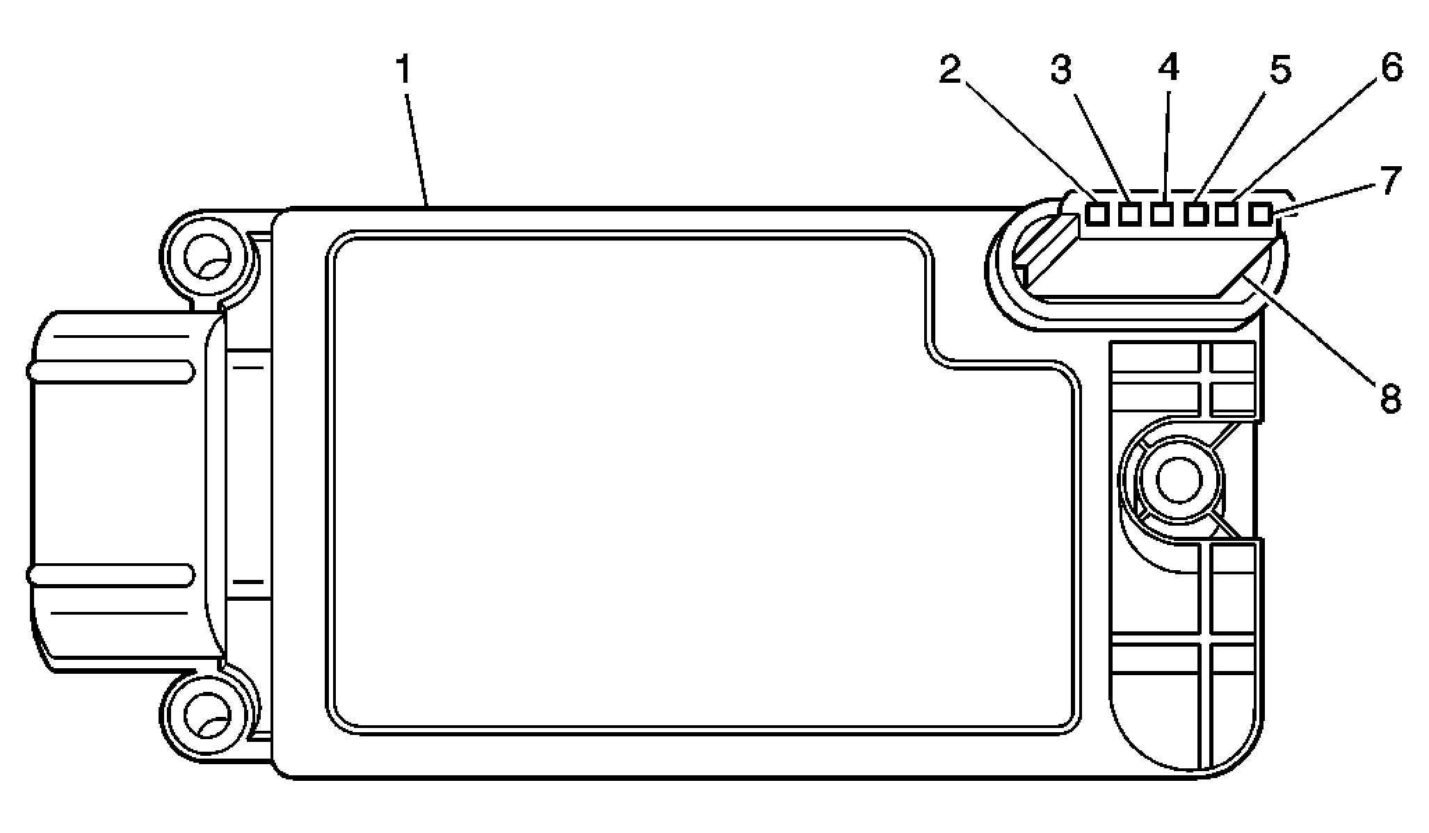
Fig 1: Identifying Ignition Control Module (ICM) Terminals
GM1202646Courtesy of GENERAL MOTORS CORP.
Callout Component Name
1 Ignition Control Module (ICM)
2 Compression Sense Ignition (CSI) Pickup
3 Not Used
4 2-3 Coil Control
5 Ignition Voltage
6 1-4 Coil Control
7 Not Used
8 Interconnect

The powertrain control module (PCM) supplies a signal on each of the ignition control (IC) timing control circuits to the ignition control module (ICM). The ICM fires the correct ignition coil at the correct time based on the signals. The ICM detects if cylinder 1 or cylinder 3 is on the compression stroke by sensing the secondary voltage and polarity of each side of the ignition coil. The ICM detects this voltage with sensing circuitry integrated into each ignition coil. The higher voltage is on the compressing cylinder. This is called compression sense ignition. The ICM provides a synthesized cam signal to the PCM based on these inputs. The PCM uses the cam signal to synchronize fuel injection.

This system consists of the following circuits: