LEMON Manuals: Even more car manuals for everyone
Home >> Chevrolet >> 2004 >> Classic >> Repair and Diagnosis (Single Page) >> Quick Lookups >> Wiring Diagrams >> Wiring Systems - Specifications, Component Views And Connector End Views >> Component Locator >> Splice Pack Connector End Views >> SP303

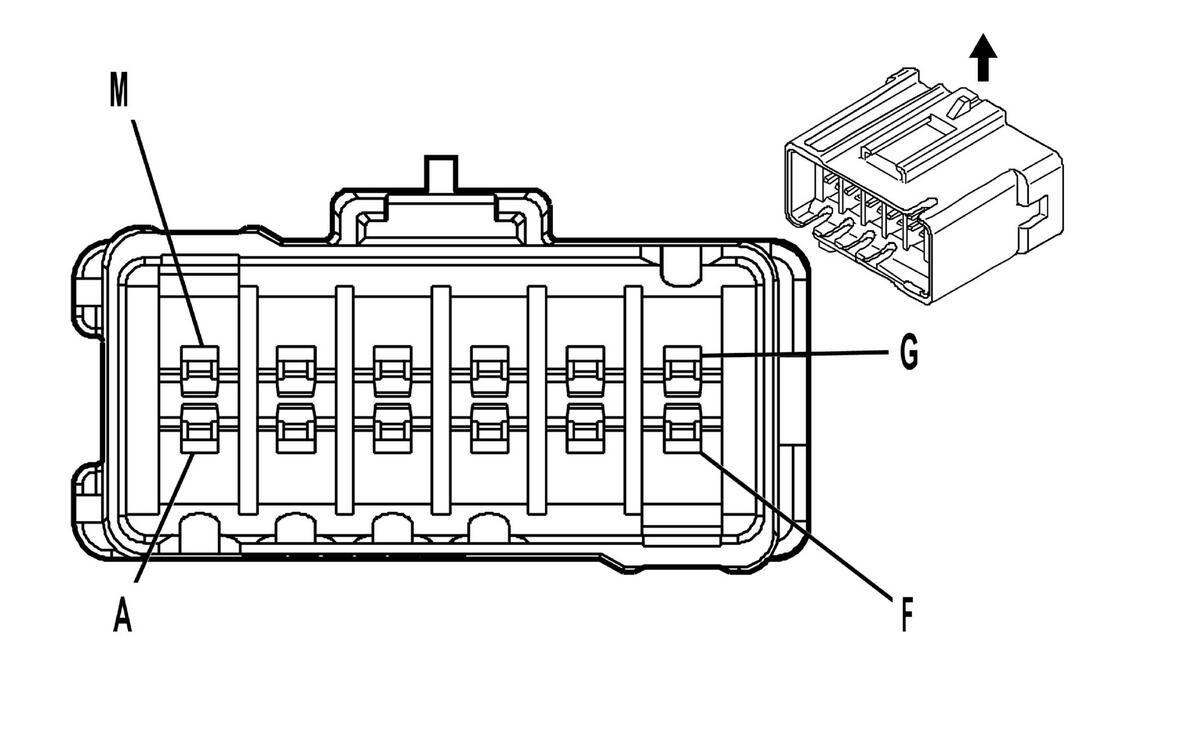
Splice Pack Connector End Views: SP303

Splice Pack, SP303 (Indexing May Vary) Connector End View

GM803605Courtesy of GENERAL MOTORS CORP.
Connector Part Information
  • 15305288
  • 12Way F Metri-Pack 280 Series (BLK)
Pin Wire Color Circuit No. Function
A LT BLU 20 Stop Lamp Switch Signal
B LT BLU 20 Stop Lamp Switch Signal
C LT BLU 20 Stop Lamp Switch Signal
D LT BLU 20 Stop Lamp Switch Signal
E LT BLU 20 Stop Lamp Switch Signal
F DK BLU 20 Stop Lamp Switch Signal
G DK BLU 1307 Power Windows Master Switch Lockout Control
H DK BLU 1307 Power Windows Master Switch Lockout Control
J DK BLU 1307 Power Windows Master Switch Lockout Control
K DK BLU 1307 Power Windows Master Switch Lockout Control
L-M - - Not Used