LEMON Manuals: Even more car manuals for everyone
Home >> Chevrolet >> 2003 >> SSR Base >> Repair and Diagnosis (Single Page) >> Accessories & Equipment >> Communication Devices >> Body Control System >> Repair Instructions >> Body Control Module Replacement >> Installation Procedure

Installation Procedure

    Fig 1: Identifying Mounting Bracket to BCM Tabs
    GM1362266Courtesy of GENERAL MOTORS CORP.
  1. If replacing the BCM, install the mounting bracket on the BCM. Ensure the retaining tabs (1) are fully seated.
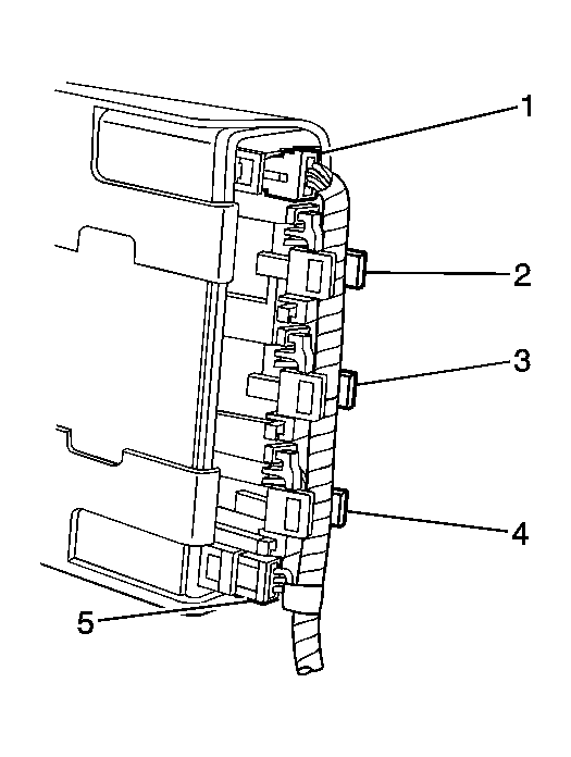
  2. Fig 2: Identifying Colored BCM Connectors
    GM1362258Courtesy of GENERAL MOTORS CORP.
  3. Connect the brown connector (3) to the BCM.
  4. Connect the blue connector (4) to the BCM.
  5. Connect the black connector (5) to the BCM.
  6. Connect the white connector (1) to the BCM.
  7. Connect the gray connector (2) to the BCM.
  8. Fig 3: Identifying Console Bracket
    GM1362262Courtesy of GENERAL MOTORS CORP.
  9. Position the BCM and bracket assembly to the console bracket (1).
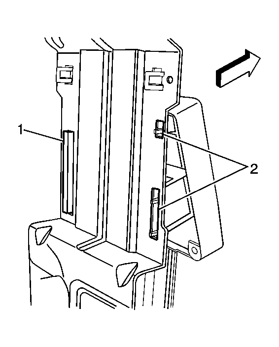
  10. Fig 4: Identifying BCM Mounting Bracket to Console Bracket Tabs
    GM1362270Courtesy of GENERAL MOTORS CORP.
  11. Install the tab (1) retaining the BCM mounting bracket to the console bracket.
  12. Install the tabs (2) retaining the BCM mounting bracket to the console bracket.
  13. Install the floor console. Refer to Console Replacement in Instrument Panel, Gages, and Console.
  14. Install the rear upper garnish molding. Refer to Garnish Molding Replacement - Rear Upper in Interior Trim.
  15. Connect the negative battery cable. Refer to BATTERY NEGATIVE CABLE DISCONNECT/CONNECT PROCEDURE .
  16. If installing a replacement BCM, program the BCM. Refer to Body Control Module (BCM) Programming/RPO Configuration .
  17. Close the convertible top.