Powertrain Control Module
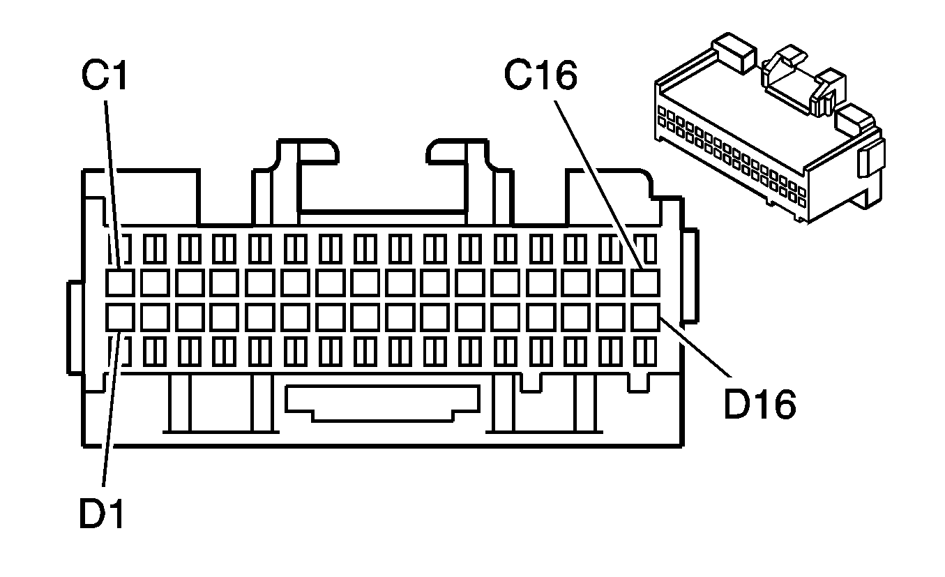
PCM Cnnector C1
| Connector Part Information | - | - | * | 12160779 |
| - | - | - | * | PCM 32 Way BRN (C1) Connector |
| Pin | Wire Color | Circuit No. | Function | - |
| C1 | -- | -- | Not Used | - |
| C2 | DK GRN/WHT | 762 | A/C Request | - |
| C3 | -- | -- | Not Used | - |
| C4 | TAN | 472 | IAT Signal | - |
| C5 | LT BLU | 1162 | APP (2) Signal | - |
| C6 | YEL | 505 | Glow Plug Relay Control | - |
| C7 | RED/BLK | 1228 | Pressure Control Solenoid Valve (Hi) | |
| C8 | YEL | 1578 | Fuel Temperature | - |
| C9 | YEL/BLK | 1227 | TFT Sensor | - |
| C10 | -- | -- | Not Used | - |
| C11 | YEL | 410 | ECT Signal | - |
| C12 | -- | -- | Not Used | - |
| C13 | RED | 313 | Closure Signal | - |
| C14 | LT GRN | 432 | Boost Sensor Signal | - |
| C15 | LT BLU/WHT | 1229 | Pressure Control Solenoid Valve (Lo) | - |
| C16 | -- | -- | Not Used | - |
| D1 | BLU/WHT | 1231 | Transmission Input Speed Signal | - |
| D2 | GRY/BLK | 1694 | 4WD Low Indicator Signal | - |
| D3 | YEL/BLK | 1275 | APP (3) 5 Volt Ref. | - |
| D4 | DK GRN | 1163 | APP (3) Signal | - |
| D5 | GRY | 120 | Fuel Lift Pump Signal | - |
| D6 | GRY | 1273 | APP (3) Ground | - |
| D7 | BRN | 104 | Glow Plug Signal | - |
| D8 | DK GRN/WHT | 465 | Fuel Lift Pump Control | - |
| D9 | PNK/BLK | 632 | Pump CAM, High Res. and Fuel Temperature Ground | - |
| D10 | GRY/BLK | 87 | Cruise Resume/Accel Request | - |
| D11 | RED/BLK | 1230 | Transmission Input Speed Signal (Lo) | - |
| D12 | WHT/BLK | 1164 | APP (1) 5 Volt Ref. | - |
| D13 | GRY | 416 | Boost, CKP and BARO 5 Volt Ref. | - |
| D14 | GRY | 474 | Pump CAM and High Res. 5 Volt Ref. | - |
| D15-D16 | -- | -- | Not Used | - |
| - | - | - |
PCM Connector C2
| Connector Part Information | * | 12160778 | ||
| * | PCM 24 Way BRN (C2) Connector | |||
| Pin | Wire Color | Circuit No. | Function | |
| A1 | BLK | 491 | Closure Ground | |
| A2 | ORN | 1799 | High Res. Signal | |
| A3 | BRN | 437 | Transmission Output Speed Signal (OSS) | |
| A4 | BRN/WHT | 633 | Pump CAM Sensor Signal | |
| A5 | YEL | 573 | CKP Sensor Signal | |
| A6 | DK GRN | 389 | VSS Signal | |
| A7 | RED/BLK | 1031 | Injection Timing Stepper Motor (HI) | |
| A8 | TAN/BLK | 1030 | Injection Timing Stepper Motor (LO) | |
| A9 | ORN/BLK | 1032 | Injection Timing Stepper Motor (LO) | |
| A10 | YEL/BLK | 1033 | Injection Timing Stepper Motor (HI) | |
| A11 | GRY | 397 | Cruise ON/OFF Signal | |
| A12 | PPL | 1272 | APP (2) Ground | |
| B1 | BRN | 1271 | APP (1) Ground | |
| B2 | DK BLU | 1161 | APP (1) Signal | |
| B3 | BLK/WHT | 1695 | Front Axle Switch Signal | |
| B4 | RED | 1226 | TR Switch C | |
| B5 | DK BLU | 1225 | TR Switch B | |
| B6 | PNK | 1224 | TR Switch A | |
| B7 | -- | -- | PTO (1360 RPM) | |
| B8 | -- | -- | PTO (1070 RPM) | |
| B9 | PPL (A/T) | 420 (A/T) | Cruise Control Brake Switch (A/T) | |
| BRN/WHT (M/T) | 379 (M/T) | Brake/CPP Switch (M/T) | ||
| B10 | WHT | 17 | Brake Switch | |
| B11 | DK BLU | 84 | Cruise Set/Coast Signal | |
| B12 | BLK | 452 | Sensor Ground (Boost, ECT, IAT, Fuel Temp., TFT and CKP Sensor) | |
PCM Connector C3
| Connector Part Information | * | 12110207 | ||
| * | PCM 32 Way BLU (C3) Connector | |||
| Pin | Wire Color | Circuit No. | Function | |
| C1 | -- | -- | Not Used | |
| C2 | TAN | 1274 | APP (2) 5 Volt Ref. | |
| C3 | LT GRN | 260 | Fuel Inject Control | |
| C4 | LT GRN | 1222 | Shift Solenoid (1-2) | |
| C5 | BRN | 418 | TCC PWM | |
| C6 | YEL/BLK | 1223 | Shift Solenoid (2-3) | |
| C7 | DK BLU | 507 | Wait To Start Lamp Control | |
| C8 | PPL | 1807 | Class 2 Communication | |
| C9-C10 | -- | -- | Not Used | |
| C11 | PNK | 439 | Ignition | |
| C12 | PNK | 439 | Ignition | |
| C13 | ORN | 440 | Battery | |
| C14 | BRN/WHT | 419 | MIL Control | |
| C15 | -- | -- | Not Used | |
| C16 | -- | -- | Not Used | |
| D1-D2 | -- | -- | Not Used | |
| D3 | LT GRN/BLK | 260 | Fuel Inject Control | |
| D4 | -- | -- | Not Used | |
| D5 | DK GRN/WHT | 459 | A/C Enable | |
| D6 | BLK/WHT | 451 | Ground | |
| D7 | TAN/WHT | 551 | Ground | |
| D8-D10 | -- | -- | Not Used | |
| D11 | WHT/BLK | 176 | Service Throttle Soon Lamp Control | |
| D12 | -- | -- | Not Used | |
| D13 | ORN | 440 | Battery | |
| D14 | YEL | 258 | Wastegate Solenoid Control | |
| D15 | DK BLU/WHT | 259 | ESO Solenoid Control | |
| D16 | -- | -- | Not Used | |