LEMON Manuals: Even more car manuals for everyone
Home >> Chevrolet >> 2000 >> Cutaway 6.5 F >> Repair and Diagnosis >> Engine Performance >> System >> Engine Control System Self-Diagnostics - Diesel >> Diagnostic Tests >> DTC P1656: WASTEGATE Solenoid Control Circuit >> Notes

DTC P1656: WASTEGATE Solenoid Control Circuit: Notes

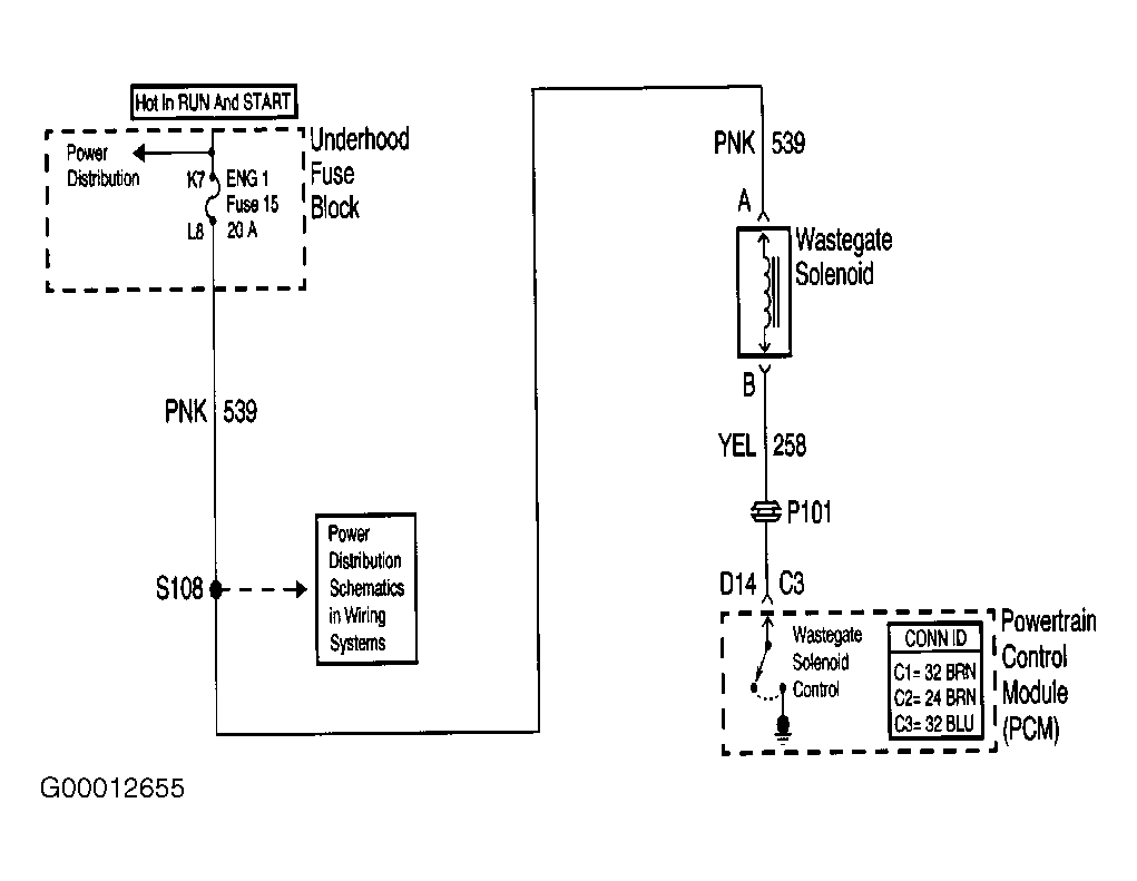
NOTE: For circuit reference, refer to schematic. See Fig 1.
Fig 1: Wastegate Solenoid Control System Circuit Diagram
G00012655Courtesy of GENERAL MOTORS CORP.