LEMON Manuals: Even more car manuals for everyone
Home >> Chevrolet >> 2000 >> Cutaway 6.5 F >> Repair and Diagnosis >> Engine Performance >> System >> Engine Control System Self-Diagnostics - Diesel >> Diagnostic Tests >> DTC P1626: Vehicle Theft Deterrent Controller Serial Data Circuit >> Notes

DTC P1626: Vehicle Theft Deterrent Controller Serial Data Circuit: Notes

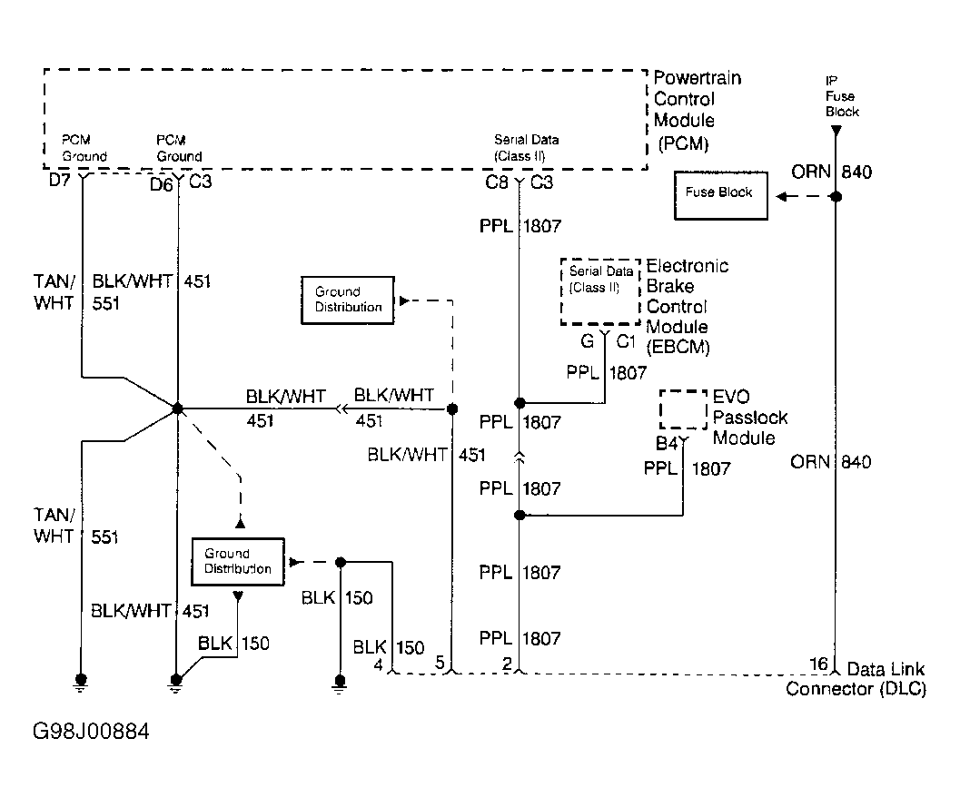
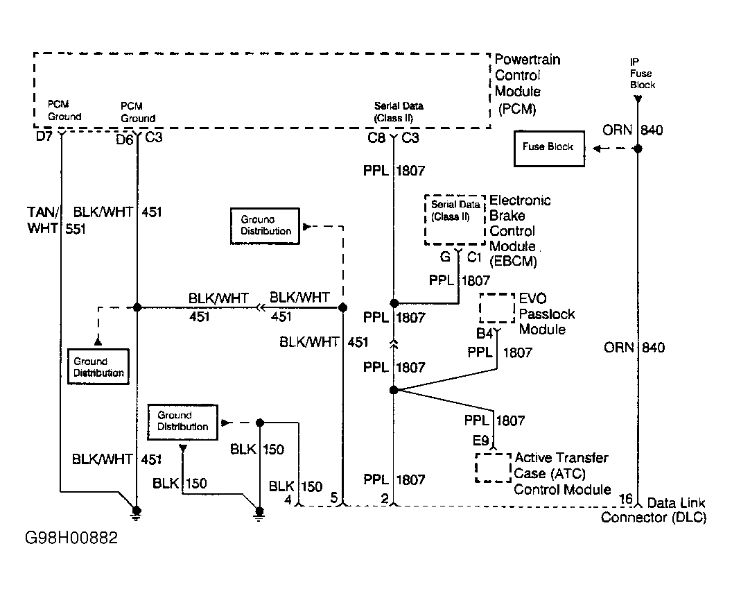
NOTE: For circuit reference, refer to appropriate schematic. See Fig 1 or Fig 2 .
Fig 1: PCM & Serial Data System Circuit Diagram ("C" & "K" Series)
G98H00882Courtesy of GENERAL MOTORS CORP.
Fig 2: PCM & Serial Data System Circuit Diagram ("G" Series)
G98J00884Courtesy of GENERAL MOTORS CORP.