LEMON Manuals: Even more car manuals for everyone
Home >> Chevrolet >> 2000 >> Cutaway 6.5 F >> Repair and Diagnosis >> Engine Performance >> System >> Engine Control System Self-Diagnostics - Diesel >> Diagnostic Tests >> DTC P0251: Injection Pump Cam System >> Notes

DTC P0251: Injection Pump Cam System: Notes

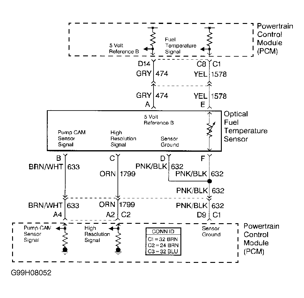
NOTE: For circuit reference, refer to DTC P0182 schematic. See Figure.