LEMON Manuals: Even more car manuals for everyone
Home >> Chevrolet >> 2000 >> Cutaway 6.5 F >> Repair and Diagnosis >> Engine Performance >> System >> Engine Control System Self-Diagnostics - Diesel >> Diagnostic Tests >> DTC P0225: Accelerator Pedal Position Sensor 3 Circuit >> Notes

DTC P0225: Accelerator Pedal Position Sensor 3 Circuit: Notes

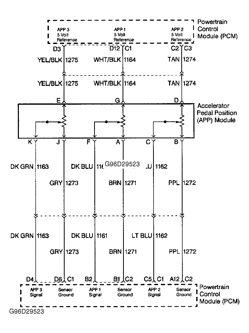
NOTE: For circuit reference, refer to DTC P0121 schematic. See Figure.