LEMON Manuals: Even more car manuals for everyone
Home >> Chevrolet >> 1987 >> Sprint Turbo >> Repair and Diagnosis >> Engine Performance >> System >> Feedback Carburetor System >> Testing >> ECM Power Circuits Check

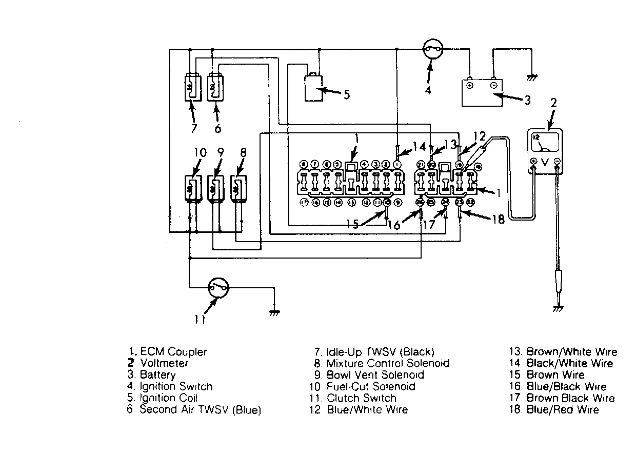
ECM Power Circuits Check

  1. Disconnect ECM coupler. Turn ignition on, but do not start engine. Connect voltmeter between terminal No. 19 of disconnected coupler (on wiring harness side) and body ground. See Fig 1 . Check voltage.
    Fig 1: Checking Sprint ECM Power Circuits
    G61352Courtesy of GENERAL MOTORS CORP.
  2. Repeat voltage check for terminal Nos. 20, 23, 24, 26, 1 and 10. If measured voltage between each terminal and body is about 12 volts, each circuit is in good condition.
  3. Check clutch switch operation as follows: Connect voltmeter between terminal No. 26 and ground. Depress clutch pedal fully. Voltage should drop to zero, indicating clutch switch is on and terminal is grounded. Reconnect coupler to ECM.