LEMON Manuals: Even more car manuals for everyone
Home >> Cadillac >> 2017 >> Escalade Base, 4WD >> Repair and Diagnosis >> Accessories & Equipment >> Drivers Assistance Systems - ADAS >> Object Detection System And Pedestrian Protection System - Schematic Wiring Diagrams >> Schematic Wiring Diagrams >> Object Detection Wiring Schematics >> Comprehensive Safety - Rear Radar (UVZ)

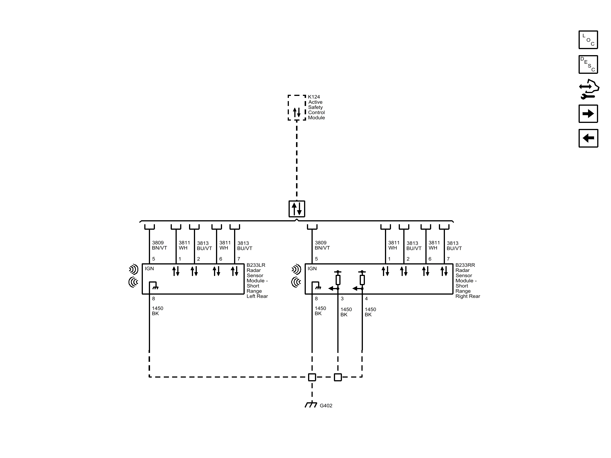
Comprehensive Safety - Rear Radar (UVZ)

Fig 1: Comprehensive Safety - Rear Radar (UVZ)
GM4499989Courtesy of GENERAL MOTORS COMPANY