LEMON Manuals: Even more car manuals for everyone
Home >> Cadillac >> 2017 >> CTS Base, AWD >> Repair and Diagnosis >> External Pages >> Different car >> Section 136 (Wiring Systems And Power Management - Component Connector End Views - K83 To P14) >> Component Connector End Views >> K167L Multifunction LED Control Module - Front Fascia Left X1

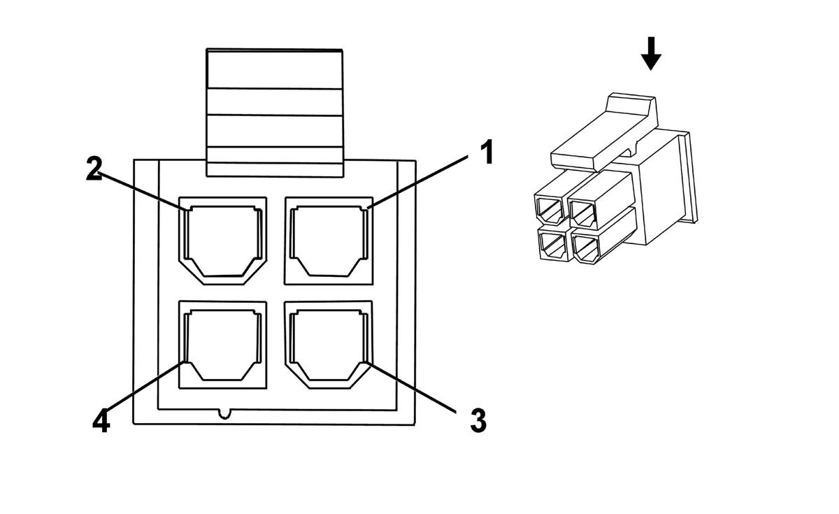
K167L Multifunction LED Control Module - Front Fascia Left X1

WARNING: This page is about a different car, the 2016 Cadillac CTS. However, it is still accessible from the selected car via links, so may be relevant.
GM3630828
Connector Part Information
  • Harness Type: Left Multifunction Lamp
  • OEM Connector: 5557-02R-BL
  • Service Connector: Service by Component Assembly - See Part Catalog
  • Description: 4-Way F Mini Fit Series (BK)
Terminal Part Information

Terminal Type ID Terminated Lead Diagnostic Test Probe Terminal Removal Tool Service Terminal Tray Core Crimp Insulation Crimp
I Not Available Not Available Not Available Not Available Not Available Not Available Not Available
Pin Size Color Circuit Function Terminal Type ID Option
1 0.5 BK 1314 Left Front Turn Signal Lamp Supply Voltage I without MAB
2 0.35 BK 6568 Left Front Turn Lamp Feedback Signal I without MAB
3 0.5 BK 550 Ground I -
4 0.75 BK 4357 Left Auxiliary DRL Supply Voltage I -