LEMON Manuals: Even more car manuals for everyone
Home >> Cadillac >> 2017 >> CT6 Plug-In >> Repair and Diagnosis >> External Pages >> Different car >> Section 4 (Wiring Systems And Power Management - Component Connector End Views - Q6E To X85) >> Component Connector End Views >> T11 Multimedia Player Interface Module

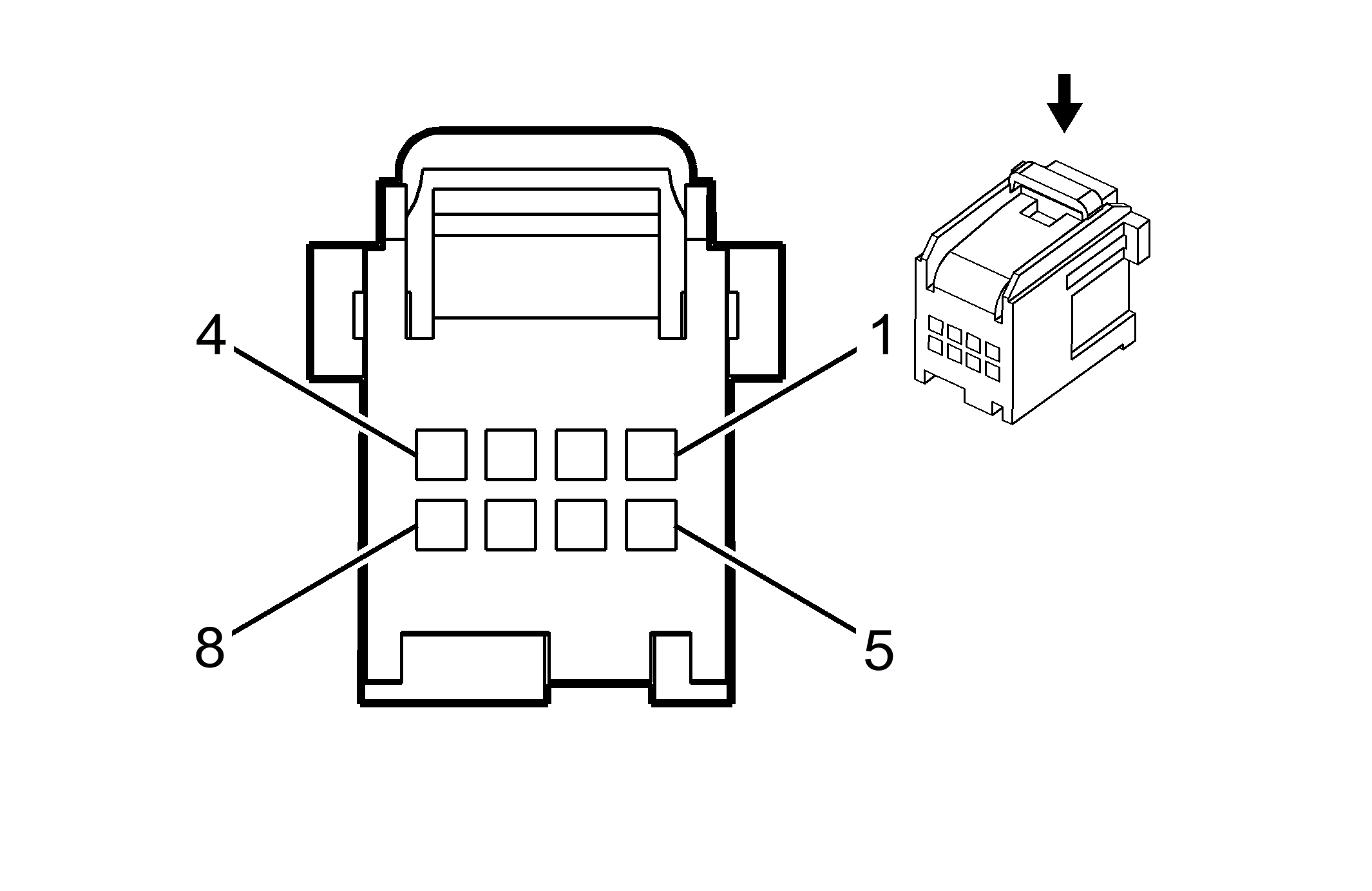
T11 Multimedia Player Interface Module

WARNING: This page is about a different car, the 2016 Chevrolet Malibu Limited. However, it is still accessible from the selected car via links, so may be relevant.
GM2717155
Connector Part Information
  • Harness Type: Instrument Panel
  • OEM Connector: 13782037
  • Service Connector: Not Available
  • Description: 8-Way F 0.64 Series (NA)
Terminal Part Information

Terminal Type ID Terminated Lead Diagnostic Test Probe Terminal Removal Tool Service Terminal Tray Core Crimp Insulation Crimp
I Not Available Not Available Not Available Not Available Not Available Not Available Not Available
Pin Size Color Circuit Function Terminal Type ID Option
1 0.35 RD/BU 3240 Battery Positive Voltage I -
2 0.35 BK 1750 Ground I -
3 0.35 L-GN/D-BU 7532 Linear Interconnect Network Bus 10 I -
4 0.35 GY/L-GN 3291 Integrated Center Stack Wake Up Signal I -
5 0.13 VT 3290 Integrated Center Stack Reset Signal I -
6 0.35 BARE 7460 Integrated Center Stack Serial Data Shield I -
7 0.35 VT 7458 Center Integrated Center Stack Serial Data High I -
8 0.35 YE 7459 Integrated Center Stack Serial Data Low I -