LEMON Manuals: Even more car manuals for everyone
Home >> Cadillac >> 2017 >> CT6 Plug-In >> Repair and Diagnosis >> External Pages >> Different car >> Section 1 (Wiring Systems And Power Management - Component Connector End Views - A3L To E4G) >> Component Connector End Views >> B118B Windshield Washer Fluid Level Switch

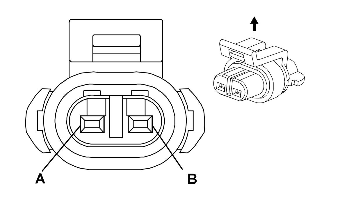
B118B Windshield Washer Fluid Level Switch

WARNING: This page is about a different car, the 2016 Chevrolet Malibu Limited. However, it is still accessible from the selected car via links, so may be relevant.
GM2352552
Connector Part Information
  • Harness Type: Forward Lamp
  • OEM Connector: 12158214
  • Service Connector: 13580106
  • Description: 2-Way F 150 Metri-Pack Series, Sealed (BK)
Terminal Part Information

Terminal Type ID Terminated Lead Diagnostic Test Probe Terminal Removal Tool Service Terminal Tray Name Core Crimp Insulation Crimp
I Not Required J-35616-14 (GN) No Tool Required Not Required Not Required Not Required Not Required
Pin Size Color Circuit Function Terminal Type ID Option
A 0.35 VT 185 Low Washer Fluid Indicator Control I -
B 0.35 BK 1150 Ground I -