LEMON Manuals: Even more car manuals for everyone
Home >> Cadillac >> 2017 >> CT6 Plug-In >> Repair and Diagnosis >> External Pages >> Different car >> Section 1 (Wiring Systems And Power Management - Component Connector End Views - A3L To E4G) >> Component Connector End Views >> A23P Door Latch Assembly - Passenger

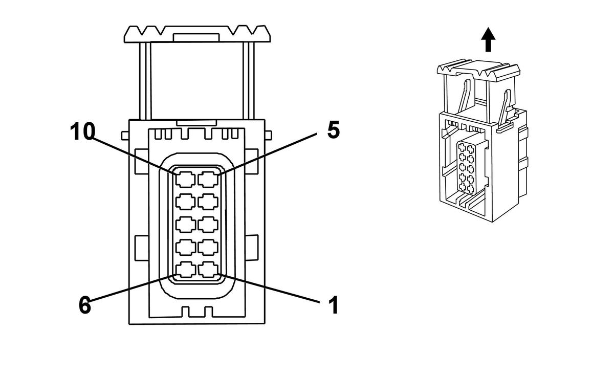
A23P Door Latch Assembly - Passenger

WARNING: This page is about a different car, the 2016 Chevrolet Malibu Limited. However, it is still accessible from the selected car via links, so may be relevant.
GM845631
Connector Part Information
  • Harness Type: Passenger Door
  • OEM Connector: 10768367
  • Service Connector: Service by Harness - See Part Catalog
  • Description: 10-Way F 1.2 Micro-Timer Series, Sealed (BK)
Terminal Part Information

Terminal Type ID Terminated Lead Diagnostic Test Probe Terminal Removal Tool Service Terminal Tray Name Core Crimp Insulation Crimp
I Not Required J-35616-2A (GY) No Tool Required Not Required Not Required Not Required Not Required
Pin Size Color Circuit Function Terminal Type ID Option
1 0.35 GY 746 Right Front Door Ajar Switch Signal I -
2 - - - Not Occupied - -
3 0.35 BK 850 Ground I -
4 - 6 - - - Not Occupied - -
7 0.75 BN/YE 294 Door Lock Actuator Unlock Control I -
8 0.75 GY 295 Door Lock Actuator Lock Control I -
9 - 10 - - - Not Occupied - -