LEMON Manuals: Even more car manuals for everyone
Home >> Cadillac >> 2017 >> CT6 Plug-In >> Repair and Diagnosis (Single Page) >> Quick Lookups >> Wiring Diagrams >> Component Connector End Views - K36 X2 To K69 >> Component Connector End Views >> K69 Transfer Case Control Module X2 (F46)

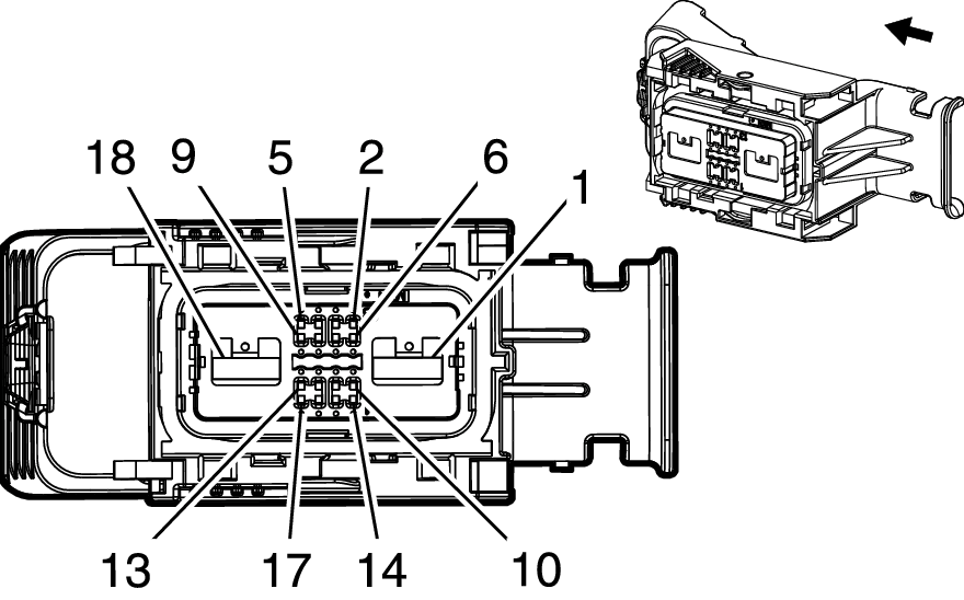
K69 Transfer Case Control Module X2 (F46)

GM4008672
Connector Part Information
  • Harness Type: Engine
  • OEM Connector: 33201916
  • Service Connector: 19333332
  • Description: 18-Way F 0.64, 6.3 Series (BK with GY Terminal Position Assurance)
Terminal Part Information

Terminal Type ID Terminated Lead Diagnostic Test Probe Terminal Removal Tool Service Terminal Tray Name Core Crimp Insulation Crimp
I 13575812 J-35616-64B (LT BU) J-38125-213 Not Available Not Available Not Available Not Available
II 19333306 J-35616-42 (RD) J-38125-11A Not Available Not Available Not Available Not Available
Pin Size Color Circuit Function Terminal Type ID Option
1 5 YE/VT 1553 Transfer Case Motor Counter Clockwise Control II -
2 0.5 YE 7474 Incremental Encoder Direction Signal I -
3 0.5 VT 7476 Incremental Encoder Sensor Low Reference I -
4 0.5 GY 814 Low Reference I -
5 - - - Not Occupied - -
6 0.5 BU/GY 7473 Incremental Encoder Impulse Signal I -
7 - 9 - - - Not Occupied - -
10 0.5 BN/WH 585 Transmission Oil Temperature Sensor Signal I -
11 - 13 - - - Not Occupied - -
14 0.5 VT 7485 Oil Temperature Sensor Signal I -
15 0.5 VT/RD 7484 Oil Temperature Sensor 5V Reference I -
16 0.5 BK/BN 586 Transmission Oil Temperature Sensor Low Reference I -
17 0.5 WH/GN 7475 Incremental Encoder Sensor 8V Reference I -
18 5 YE/GY 1552 Transfer Case Motor Clockwise Control II -