LEMON Manuals: Even more car manuals for everyone
Home >> Cadillac >> 2017 >> CT6 Plug-In >> Repair and Diagnosis (Single Page) >> Quick Lookups >> Wiring Diagrams >> Component Connector End Views - K36 X2 To K69 >> Component Connector End Views >> K40P Seat Memory Control Module - Passenger X4 (AQ9)

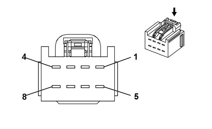
K40P Seat Memory Control Module - Passenger X4 (AQ9)

GM2832199
Connector Part Information
  • Harness Type: Passenger Seat
  • OEM Connector: 13581036
  • Service Connector: Service by Harness - See Part Catalog
  • Description: 8-Way F 2.8 Series (L-GY)
Terminal Part Information

Terminal Type ID Terminated Lead Diagnostic Test Probe Terminal Removal Tool Service Terminal Tray Name Core Crimp Insulation Crimp
I Not Required No Tool Required No Tool Required Not Required Not Required Not Required Not Required
Pin Size Color Circuit Function Terminal Type ID Option
1 0.75 BN/YE 9016 Upper Seat Back Motor - Right Rear Forward Control I -
2 0.75 BU/YE 9017 Upper Seat Back Motor - Right Rear Rearward Control I -
3 - 8 - - - Not Occupied - -