LEMON Manuals: Even more car manuals for everyone
Home >> Cadillac >> 2017 >> CT6 Plug-In >> Repair and Diagnosis (Single Page) >> Quick Lookups >> Wiring Diagrams >> Component Connector End Views - K36 X2 To K69 >> Component Connector End Views >> K40P Seat Memory Control Module - Passenger X2

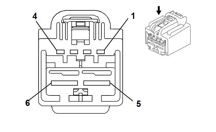
K40P Seat Memory Control Module - Passenger X2

GM1798802
Connector Part Information
  • Harness Type: Passenger Seat
  • OEM Connector: 15226104
  • Service Connector: Service by Harness - See Part Catalog
  • Description: 6-Way F YESC Kaizen Series (BK)
Terminal Part Information

Terminal Type ID Terminated Lead Diagnostic Test Probe Terminal Removal Tool Service Terminal Tray Name Core Crimp Insulation Crimp
I Not Required No Tool Required No Tool Required Not Required Not Required Not Required Not Required
Pin Size Color Circuit Function Terminal Type ID Option
1 0.35 GN 5060 Low Speed GMLAN Serial Data I -
2 - 3 - - - Not Occupied - -
4 0.35 GN/YE 4116 Local Interconnect Network Serial Data Bus 16 I AQ9
5 2.5 BK 2250 Ground I -
6 - - - Not Occupied - -