LEMON Manuals: Even more car manuals for everyone
Home >> Cadillac >> 2017 >> CT6 Plug-In >> Repair and Diagnosis (Single Page) >> Quick Lookups >> Wiring Diagrams >> Component Connector End Views - K134RR To M101L >> Component Connector End Views >> M17 Liftgate Motor Assembly (TC2)

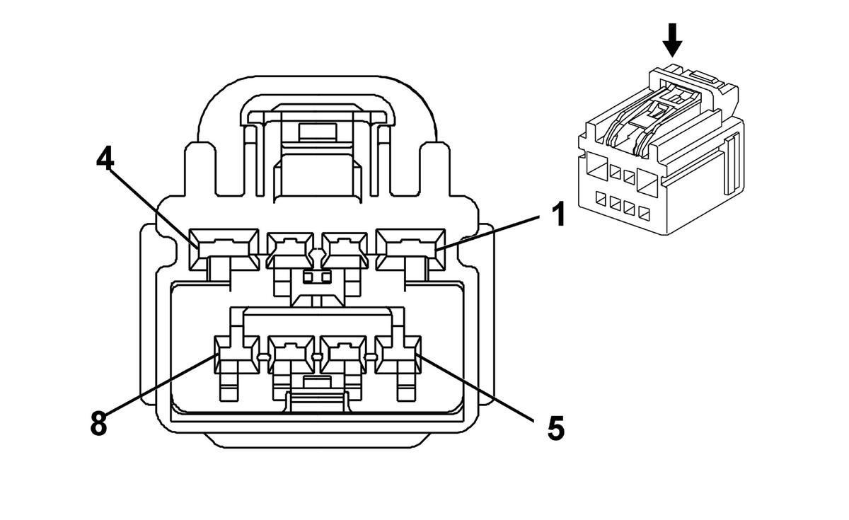
M17 Liftgate Motor Assembly (TC2)

GM1851882
Connector Part Information
  • Harness Type: Body
  • OEM Connector: 10847007
  • Service Connector: 19153181
  • Description: 8-Way F YESC Kaizen Series (L-GY)
Terminal Part Information

Terminal Type ID Terminated Lead Diagnostic Test Probe Terminal Removal Tool Service Terminal Tray Name Core Crimp Insulation Crimp
I Not Required J-35616-2A (GY) No Tool Required Not Required Not Required Not Required Not Required
II Not Required J-35616-4A (PU) No Tool Required Not Required Not Required Not Required Not Required
Pin Size Color Circuit Function Terminal Type ID Option
1 2.5 BN/WH 5799 Lift Gate Open/Close Motor Close Control II -
2 0.35 BN/RD 5803 Lift Gate Position Sensor 5V Reference I -
3 0.35 BK/GN 5804 Lift Gate Position Sensor Low Reference I -
4 2.5 WH 5798 Lift Gate Open/Close Motor Open Control II -
5 - 6 - - - Not Occupied - -
7 0.35 BU/WH 5805 Lift Gate Position Sensor Signal 1 I -
8 0.35 BN/YE 5806 Lift Gate Position Sensor Signal 2 I -