LEMON Manuals: Even more car manuals for everyone
Home >> Cadillac >> 2017 >> CT6 Plug-In >> Repair and Diagnosis (Single Page) >> Quick Lookups >> Wiring Diagrams >> Component Connector End Views - B201 To E8SA >> Component Connector End Views >> B78D Front Object Sensor - Right Middle

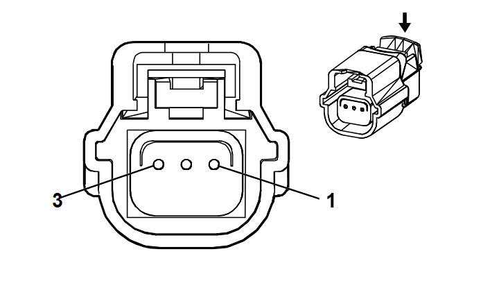
B78D Front Object Sensor - Right Middle

GM1846469
Connector Part Information
  • Harness Type: Front Fascia
  • OEM Connector: 13512481
  • Service Connector: Service by Harness - See Part Catalog
  • Description: 3-Way F 0.64 Series, Sealed (BK)
Terminal Part Information

Terminal Type ID Terminated Lead Diagnostic Test Probe Terminal Removal Tool Service Terminal Tray Name Core Crimp Insulation Crimp
I Not Required J-35616-64B (LT BU) No Tool Required Not Required Not Required Not Required Not Required
Pin Size Color Circuit Function Terminal Type ID Option
1 0.35 BN 6581 Front Parking Aid Display Control I -
2 0.35 VT/GY 5218 Front Parking Right Mid Sensor I -
3 0.35 BK/BU 5214 Front Parking Sensor Low Reference I -