LEMON Manuals: Even more car manuals for everyone
Home >> Cadillac >> 2017 >> CT6 Plug-In >> Repair and Diagnosis (Single Page) >> Electrical >> Wiring Diagrams >> Component Connector End Views - K71 Hp9 To K134P >> Component Connector End Views >> K99 Steering Column Position Control Module X1

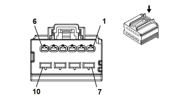
K99 Steering Column Position Control Module X1

GM3791446
Connector Part Information
  • Harness Type: Instrument Panel
  • OEM Connector: 13578134
  • Service Connector: 13582823
  • Description: 10-Way F 1.5, 2.8 Series (BK)
Terminal Part Information

Terminal Type ID Terminated Lead Diagnostic Test Probe Terminal Removal Tool Service Terminal Tray Name Core Crimp Insulation Crimp
I 13580025 J-35616-4A (PU) J-38125-11A 7116-4111-02 Yazaki 9 E A
II 19300635 J-35616-2A (GY) J-38125-217 Not Available Not Available Not Available Not Available
Pin Size Color Circuit Function Terminal Type ID Option
1 0.35 BK 1350 Ground II -
2 0.35 GN/WH 7530 Local Interconnect Network Serial Data Bus 8 II -
3 0.35 GN/BN 2095 Steering Column Tilt and Telescope Rearward Switch Signal II -
4 0.35 BN/GY 2096 Steering Column Tilt and Telescope Up Switch Signal II -
5 0.35 YE/BN 2097 Steering Column Tilt and Telescope Down Switch Signal II -
6 0.35 BU/YE 2094 Steering Column Tilt and Telescope Forward Switch Signal II -
7 0.75 RD/BN 3640 Battery Positive Voltage I -
8 0.75 BK 1350 Ground I -
9 - 10 - - - Not Occupied - -