LEMON Manuals: Even more car manuals for everyone
Home >> Cadillac >> 2017 >> CT6 Plug-In >> Repair and Diagnosis (Single Page) >> Electrical >> Wiring Diagrams >> Component Connector End Views - K36 X2 To K69 >> Component Connector End Views >> K60 Steering Column Lock Module

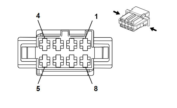
K60 Steering Column Lock Module

GM2173871
Connector Part Information
  • Harness Type: Instrument Panel
  • OEM Connector: 10718780
  • Service Connector: 13576545
  • Description: 8-Way F 1.6 Micro-Timer Series (BK)
Terminal Part Information

Terminal Type ID Terminated Lead Diagnostic Test Probe Terminal Removal Tool Service Terminal Tray Name Core Crimp Insulation Crimp
I Not Required J-35616-14 (GN) No Tool Required Not Required Not Required Not Required Not Required
Pin Size Color Circuit Function Terminal Type ID Option
1 - - - Not Occupied - -
2 0.35 BU/VT 5904 Steering Column Lock Status Signal I -
3 0.75 BU/VT 807 OFF /Accessory Ignition Voltage I -
4 0.35 GN/VT 1601 Steering Column Lock Signal I -
5 0.75 RD/GY 4140 Battery Positive Voltage I -
6 0.75 BK 1350 Ground I -
7 0.75 BK 1350 Ground I -
8 0.35 GN 5060 Low Speed GMLAN Serial Data I -