LEMON Manuals: Even more car manuals for everyone
Home >> Cadillac >> 2014 >> Escalade ESV Base, AWD >> Repair and Diagnosis >> External Pages >> Different car >> Section 1 (Wiring Systems And Power Management - Component Connector End Views - Radio (X2 Without UL5) To Yaw And Lateral Sensor) >> Component Connector End Views >> Reductant Sensor Module X1 (Diesel)

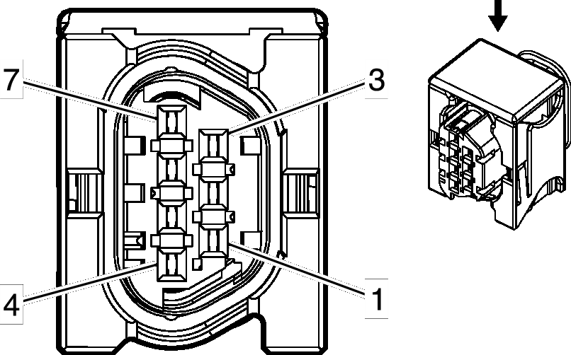
Reductant Sensor Module X1 (Diesel)

WARNING: This page is about a different car, the 2014 GMC Sierra 3500 HD, 2014 GMC Sierra 2500 HD, 2014 Chevrolet Silverado 3500 HD, and 2014 Chevrolet Silverado 2500 HD. However, it is still accessible from the selected car via links, so may be relevant.
GM2231639Courtesy of GENERAL MOTORS COMPANY
Connector Part Information
  • Harness: Reductant Jumper
  • OEM: 1928404791
  • Service: 13584258
  • Description: 7-Way F 1.6 Series, Sealed (BK)
Terminal Part Information
  • Terminal/Tray: 964274-2/16
  • Core/Insulation Crimp: E/1
  • Release Tool/Test Probe: J-38125-560/J-35616-14 (GN)
Reductant Sensor Module X1 (Diesel)

Pin Wire Circuit Function
1 0.5 PK/BK 117 Ignition Voltage
2 0.5 BK 127 Ground
3 - - Not Used
4 0.5 D-GN 147 High Speed GMLAN Serial Data (-) (3)
5 0.5 L-GN 157 High Speed GMLAN Serial Data (+) (3)
6 0.5 D-GN 167 High Speed GMLAN Serial Data (-) (3)
7 0.5 L-GN 177 High Speed GMLAN Serial Data (-) (3)