LEMON Manuals: Even more car manuals for everyone
Home >> Cadillac >> 2012 >> Escalade EXT >> Repair and Diagnosis >> Quick Lookups >> Wiring Diagrams >> Wiring Systems And Power Management - Component Connector End Views - Memory Seat Module (X5) To Yaw Sensor >> Component Connector End Views >> Steering Wheel/Column Tilt Switch (N48)

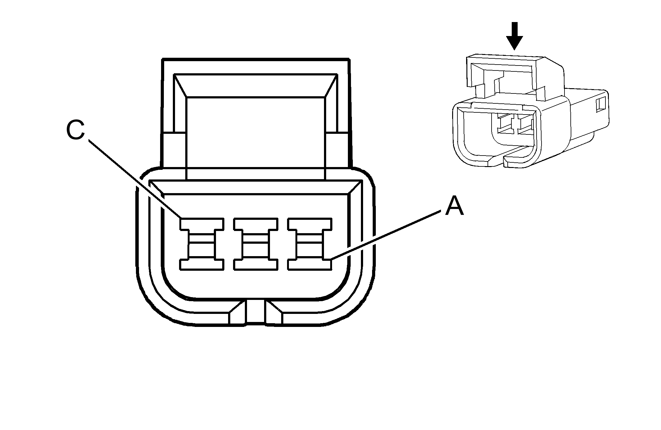
Steering Wheel/Column Tilt Switch (N48)

GM516613Courtesy of
Connector Part Information
  • Harness Type: Steering Column
  • OEM Connector: 12064759
  • Service Connector: 12117322
  • Description: 3-Way M Metri-Pack 150 Series (BK)
Terminal Part Information
  • Terminated Lead: Service by Connector Assembly- 12117322
  • Release Tool: Not Available
  • Test Probe: Not Available
  • Terminal/Tray: Not Available
  • Core/Insulation Crimp: Not Available
Steering Wheel/Column Tilt Switch (N48)

Pin Wire Circuit Function
A 0.35 YE 2097 Steering Column Tilt Down Signal
B 0.35 PU/WH 6205 12-Volt Reference
C 0.35 GY 2096 Steering Column Tilt Up Signal