LEMON Manuals: Even more car manuals for everyone
Home >> Cadillac >> 2012 >> Escalade EXT >> Repair and Diagnosis >> Quick Lookups >> Wiring Diagrams >> Wiring Systems And Power Management - Component Connector End Views - Memory Seat Module (X5) To Yaw Sensor >> Component Connector End Views >> Speaker- Left Front Tweeter

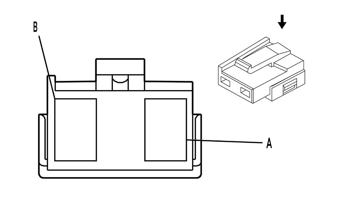
Speaker- Left Front Tweeter

GM38274Courtesy of
Connector Part Information
  • Harness Type: Instrument Panel
  • OEM Connector: 12015199
  • Service Connector: 12101821
  • Description: 2-Way F Metri-Pack 280 Series (NA)
Terminal Part Information
  • Terminated Lead: Service by Connector Assembly- 12101821
  • Release Tool: J-38125-11A
  • Diagnostic Test Probe: J-35616-4A (PU)
  • Terminal/Tray: 12066214/2
  • Core/Insulation Crimp: A/B
Speaker- Left Front Tweeter

Pin Wire Circuit Function
A 0.5 GY 118 Left Front Speaker Output (-) (without STZ or Y91)
0.8 GY 118 Left Front Speaker Output (-) (STZ or Y91)
0.8 GY 118 Left Front Speaker Output (-)
B 0.5 TN 201 Left Front Speaker Output (+) (without STZ or Y91)
0.8 TN 201 Left Front Speaker Output (+) (STZ or Y91)
0.8 TN 201 Left Front Speaker Output (+)