LEMON Manuals: Even more car manuals for everyone
Home >> Cadillac >> 2012 >> Escalade EXT >> Repair and Diagnosis >> External Pages >> Different car >> Section 867 (Cellular System, Entertainment System, And Navigation System) >> Component Locator >> Entertainment/Communication Component Views

Entertainment/Communication Component Views

WARNING: This page is about a different car, the 2007 GMC Sierra and 2007 Chevrolet Silverado. However, it is still accessible from the selected car via links, so may be relevant.
Fig 1: Front of the I/P -YE9
GM1855926Courtesy of GENERAL MOTORS CORP.
Callout Component Name
1 Driver Information (DIC) Switch
2 Instrument Panel Cluster (IPC)
3 Radio
4 Ambient Light/Sunload Sensor Assembly (CJ2) / Ambient Light Sensor (C67/C42)
5 HVAC Control Module
6 Inflatable Restraint I/P Module Disable Switch (C99)
7 Power Take-Off (PTO) Switch
8 Auxiliary Power Outlet - Front 2
9 I/P Multifunction Switch Assembly
10 Auxiliary Power Outlet - Front 1
11 Transfer Case Shift Control Switch (NQF/NQH)
12 Trailer Brake Control Panel Switch (JL1)
13 Headlamp and Panel Dimmer Switch
Fig 2: Front of the I/P +YE9
GM1909163Courtesy of GENERAL MOTORS CORP.
Callout Component Name
1 Instrument Panel Cluster (IPC)
2 Inflatable Restraint Steering Wheel Module
3 Shift Control Lever
4 Ambient Light/Sunload Sensor Assembly (CJ2)/Ambient Light Sensor (C67/C42)
5 Speaker - Center (UQA +Y91)
6 Radio
7 Inflatable Restraint I/P Module
8 I/P Compartment Lamp
9 HVAC Control Module
10 Auxiliary Power Outlet - Front 2
11 I/P Multifunction Switch Assembly
12 Auxiliary Power Outlet - Front 1
13 Driver Information Center (DIC) Switch
14 Steering Wheel Control Switch Assembly - Right (UK3)
15 Steering Wheel Control Switch Assembly - Left (K34/KA9)
16 Trailer Brake Control Panel Switch (JL1)
17 Headlamp and Panel Dimmer Switch
18 Dimmer Control
19 Transfer Case Shift Control Switch (NQF/NQH)
20 Turn Signal Multifunction Switch
Fig 3: Console Components
GM1855927Courtesy of GENERAL MOTORS CORP.
Callout Component Name
1 Rear Seat Audio (RSA) Controller (UK6)
2 Auxiliary Power Outlet - Console (D07)
3 Audio Amplifier (UQA)
4 Auxiliary Power Outlet - Bin (D07)
5 Noise Compensation Microphone (Y91)
6 Audio/Video Adapter (U42)
Fig 4: Overhead Console Harness
GM1890108Courtesy of GENERAL MOTORS CORP.
Callout Component Name
1 X304
2 Inflatable Restraint Passenger Air Bag ON/OFF Indicator (AL0/C99)
3 Cellular Microphone (UE1/U3U/UVB)
4 Roof Beacon Switch (TRW)
5 Sliding Rear Window Switch (A48)
6 Courtesy/Reading Lamps-Front
7 J322
8 J323
9 X313
10 Roof Mounted Beacon Blunt Cuts (TRW)
11 Roof Beacon Relay (TRW)
Fig 5: Headliner and Overhead Console (U42/5Y0)
GM1934348Courtesy of GENERAL MOTORS CORP.
Callout Component Name
1 Roof Beacon Switch (5Y0)
2 Video Display (U42)
3 Infared Module (U42)
4 Emergency Vehicle Wiring Blunt Cuts (5Y0)
5 Emergency Vehicle Roof Lamp Relay (5Y0)
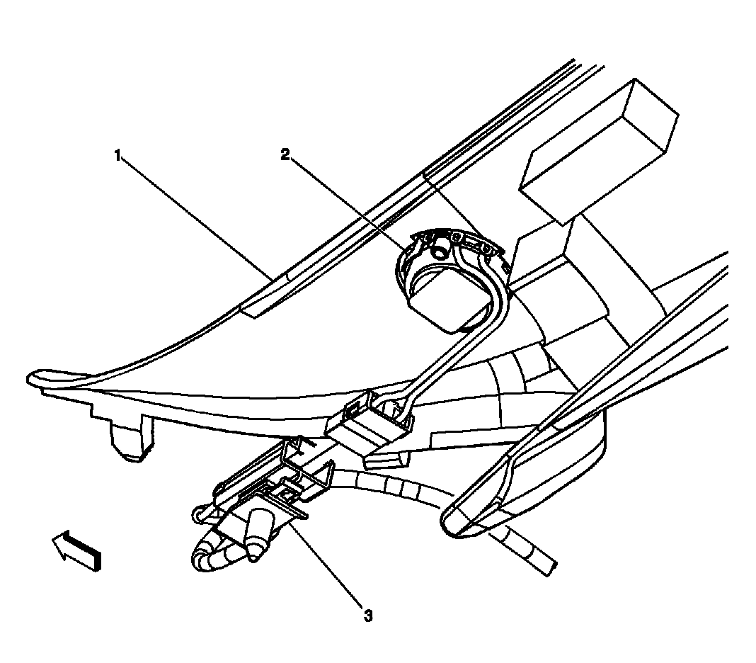
Fig 6: Front Headliner Components
GM1855919Courtesy of GENERAL MOTORS CORP.
Callout Component Name
1 Inside Air Temperature Sensor - Front (CJ2)
2 Cellular Microphone (UE1/U3U/UVB)
3 Courtesy/Reading Lamps - Rear (Extended Cab/Crew Cab)
4 Sunroof Switch (CF5)
5 Sunshade - Right (DH6)
6 Garage Door Opener (UG1)
7 Onstar Button Assembly
8 Inside Rearview Mirror (ISRVM)
9 Courtesy/Reading Lamps - Front
10 Windshield
11 Sunshade - Left (DH6)
Fig 7: Speaker - LF Tweeter (RF Similar)
GM851254Courtesy of GENERAL MOTORS CORP.
Callout Component Name
1 Left A-Pillar Trim Panel
2 Speaker - Left Front Tweeter
3 Speaker - Left Front Tweeter Connector
Fig 8: Driver Door (AN3/DL3)
GM1714202Courtesy of GENERAL MOTORS CORP.
Callout Component Name
1 Door Frame
2 Outside Rearview Mirror - Driver
3 Memory/Heated Seat Switch
4 Driver Door Switch (DDS)
5 Speaker - Left Front
6 Window Motor - Driver (A31)
7 Inflatable Restraint Side Impact Sensor (SIS) - Left Front (ASF)
8 Door Latch Assembly - Driver
Fig 9: Passenger Door (AN3/DL3)
GM1714232Courtesy of GENERAL MOTORS CORP.
Callout Component Name
1 Outside Rearview Mirror - Passenger
2 Passenger Door Switch (PDS)
3 Door Latch Assembly - Passenger
4 Inflatable Restraint Side Impact Sensor (SIS) - Right Front (ASF)
5 Speaker - Right Front
6 Window Motor - Passenger (A31)
7 Heated Seat Switch - Passenger
Fig 10: Driver Door (AU3 -AN3/DL3)
GM1854064Courtesy of GENERAL MOTORS CORP.
Callout Component Name
1 Door Frame
2 Door Lock Switch - Driver
3 Speaker - Left Front
4 Door Latch Assembly - Driver
Fig 11: Passenger Door (AU3 -AN3/DL3)
GM1854066Courtesy of GENERAL MOTORS CORP.
Callout Component Name
1 Door Lock Switch - Passenger
2 Door Latch Assembly - Passenger
3 Speaker - Right Front
Fig 12: Left Rear Door (Crew Cab)
GM1854068Courtesy of GENERAL MOTORS CORP.
Callout Component Name
1 Door Frame
2 Window Switch - Left Rear (A31)
3 Window Motor - Left Rear (A31)
4 Speaker - Left Rear Door
5 Inflatable Restraint Side Impact Sensor (SIS) - Left Rear (ASF)
6 Door Latch Assembly - Left Rear
Fig 13: Right Rear Door (Crew Cab)
GM1854069Courtesy of GENERAL MOTORS CORP.
Callout Component Name
1 Window Switch - Right Rear (A31)
2 Inflatable Restraint Side Impact Sensor (SIS) - Right Rear (ASF)
3 Door Latch Assembly - Right Rear
4 Speaker - Right Rear Door
5 Window Motor - Right Rear (A31)
Fig 14: Left Rear Door (Extended Cab)
GM1854060Courtesy of GENERAL MOTORS CORP.
Callout Component Name
1 Door Frame
2 Window Switch - Left Rear (ABV)
3 Speaker - Left Rear Door
4 Inflatable Restraint Side Impact Sensor (SIS) - Left Rear (ASF)
5 Window Motor - Left Rear (ABV)
Fig 15: Right Rear Door (Extended Cab)
GM1854062Courtesy of GENERAL MOTORS CORP.
Callout Component Name
1 Window Switch - Right Rear (ABV)
2 Window Motor - Right Rear (ABV)
3 Inflatable Restraint Side Impact Sensor (SIS) - Right Rear (ASF)
4 Speaker - Right Rear Door
Fig 16: Behind the I/P
GM1732559Courtesy of GENERAL MOTORS CORP.
Callout Component Name
1 I/P Trim
2 Fuse Block - I/P
3 Body Control Module (BCM)
4 Speaker - Subwoofer (UQA)
5 Vehicle Communication Interface Module (VCIM) (UE1)
6 Digital Radio Receiver (U2K)
Fig 17: Audio Components (Regular Cab)
GM1855921Courtesy of GENERAL MOTORS CORP.
Callout Component Name
1 Rear Window
2 Speaker - Left Rear
3 Driver Door Trim
4 Speaker - Left Front
5 Speaker - Center (UQA+Y91)
6 Speaker - Subwoofer (UQA)
7 Speaker - Right Front
8 Speaker - Right Rear
Fig 18: Above the Driver Door
GM1739414Courtesy of GENERAL MOTORS CORP.
Callout Component Name
1 Windshield
2 Cellular/Navigation Antenna (UE1) / Cellular/Navigation and Digital Radio Antenna (UE1 w/U2K)