LEMON Manuals: Even more car manuals for everyone
Home >> Cadillac >> 2012 >> Escalade EXT >> Repair and Diagnosis >> External Pages >> Different car >> Section 799 (Antilock Brake System, Traction Control System & Stability Control System) >> Repair Instructions >> Electronic Brake Control Module Replacement (W/O JL4) >> Removal Procedure

Removal Procedure

WARNING: This page does not describe the selected car, but rather 8 other vehicles, including the 2007 GMC Yukon XL, 2007 GMC Yukon, 2007 Chevrolet Tahoe, 2007 Chevrolet Suburban, and 2007 Chevrolet Avalanche. However, it is still accessible from the selected car via links, so may be relevant.
CAUTION: Refer to Brake Fluid Irritant Caution .
  1. Raise and support the vehicle. Refer to Lifting and Jacking the Vehicle .
  2. Remove all dirt and debris from the electronic brake control module (EBCM) and the brake pressure modulator valve (BPMV) before loosening or removing any of the components.
  3. IMPORTANT: DO NOT reuse the EBCM to BPMV screws. Install NEW screws.
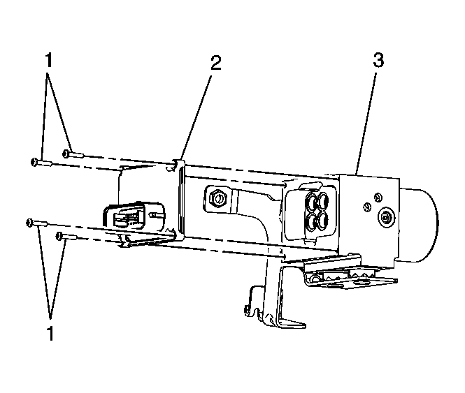
    Fig 1: View Of EBCM, BPMV & Screws
    GM1702896Courtesy of GENERAL MOTORS CORP.
  4. Using denatured alcohol, clean the EBCM (2) and the BPMV (3).
  5. Disconnect the EBCM electrical connector.
  6. Remove and discard the EBCM to BPMV screws (1).
  7. Carefully pull the EBCM (2) from the BPMV (3).