LEMON Manuals: Even more car manuals for everyone
Home >> Cadillac >> 2012 >> Escalade EXT >> Repair and Diagnosis >> External Pages >> Different car >> Section 1936 (Wiring Systems And Power Management - Component Views &, Component Connector End View Index) >> Electrical Center Identification Views >> Fuse Block - Underhood X1

Fuse Block - Underhood X1

WARNING: This page is about a different car, the 2008 GMC Sierra, 2008 GMC Cab & Chassis Sierra, 2008 Chevrolet Silverado, and 2008 Chevrolet Cab & Chassis Silverado. However, it is still accessible from the selected car via links, so may be relevant.
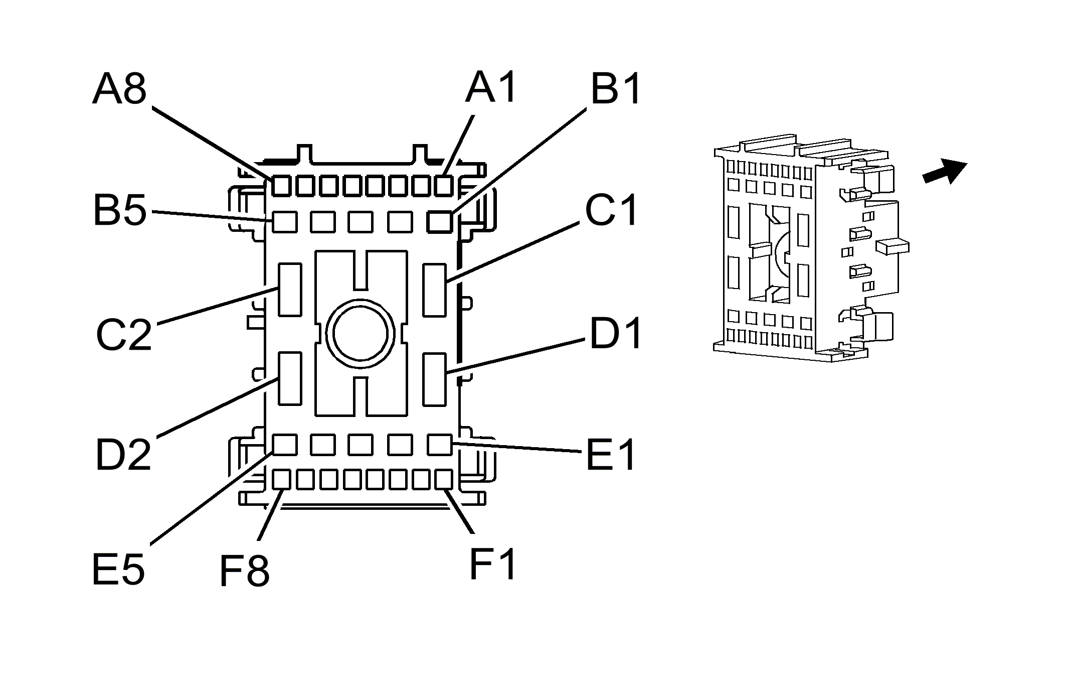
Fig 1: Fuse Block - Underhood X1
GM1665656Courtesy of GENERAL MOTORS CORP.
Fuse Block - Underhood X1

Pin Wire Color Circuit No. Function
A1 0.8 BK 250 Ground
A2 0.8 L-BU/WH 1314 Left Front Turn Signal Lamp Supply Voltage
A3 0.5 D-BU 545 Right Rear Low Level Audio Signal (+)
A4 0.8 D-BU/WH 1315 Right Front Turn Signal Lamp Supply Voltage
A5-A6 - - Not Used
A7 0.5 L-GN/BK 311 Right Headlamp High Beam Supply Voltage
A8 0.5 D-GN/WH 711 Left Headlamp High Beam Supply Voltage
B1-B2 - - Not Used
B3 0.5 D-BU 545 Right Rear Low Level Audio Signal (+)
B4 - - Not Used
B5 0.8 PU 2234 Front Fog Lamp Supply Voltage (T96)
0.8 PU 2234 Front Fog Lamp Supply Voltage (T96)
C1 5 GY 532 Cooling Fan Motor Supply Voltage (Gas -LY6)
C2 5 YE 5358 Cooling Fan Motor Supply Voltage (Gas -LY6)
D1 5 L-BU 409 Cooling Fan Motor Supply Voltage (Gas -LY6)
D2 5 BK 150 Ground (Gas)
E1 0.5 OG 228 Windshield Washer Pump Control
E2 0.8 YE 712 Left Headlamp Low Beam Supply Voltage
E3 0.8 TN/WH 312 Right Headlamp Low Beam Supply Voltage
E4 - - Not Used
E5 0.5 D-GN 29 Horn Control
0.5 D-GN 29 Horn Control
F1-F4 - - Not Used
F5 0.5 BN 2609 Right Front Park Lamps Supply Voltage
F6-F7 - - Not Used
F8 0.5 BN 2509 Left Front Park Lamps Supply Voltage
Connector Part Information 
  • OEM: 13513343
  • Service: 19115674
  • Description: 30-Way F GT 150 280 Metri-Pack Series (GY)
Terminal Part Information 
  • Pins: C1, C2, D1, D2
  • Terminal/Tray: 12110127/19
  • Core/Insulation Crimp: F/G
  • Release Tool/Test Probe: 12150860/J-35616-44 (YE)
  • Pins:A2, A3, A7, A8, B3, E1, E5, F5, F8
  • Terminal/Tray: 15496302/5
  • Core/Insulation Crimp: E/A
  • Release Tool/Test Probe: 15315247/J-35616-2A (GY)
  • Pins: A1, A2, A4, E2, E3
  • Terminal/Tray: 13525970/4
  • Core/Insulation Crimp: 2/A
  • Release Tool/Test Probe: 15315247/J-35616-4A (PU)
  • Pins: B5
  • Terminal/Tray: 13525969/4
  • Core/Insulation Crimp: See Terminal Repair Kit
  • Release Tool/Test Probe: 15315247/J-35616-4A (PU)