LEMON Manuals: Even more car manuals for everyone
Home >> Cadillac >> 2012 >> Escalade EXT >> Repair and Diagnosis >> External Pages >> Different car >> Section 1932 (Wiring Systems And Power Management - Component Connector End View 2 Of 5) >> Engine Control Module (ECM) X2 (except HP2)

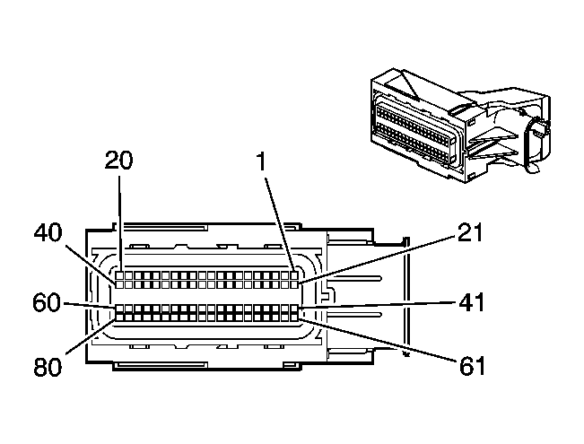
Engine Control Module (ECM) X2 (except HP2)

WARNING: This page does not describe the selected car, but rather 8 other vehicles, including the 2008 GMC Yukon XL, 2008 GMC Yukon, 2008 Chevrolet Tahoe, 2008 Chevrolet Suburban, and 2008 Chevrolet Avalanche. However, it is still accessible from the selected car via links, so may be relevant.
Fig 1: Engine Control Module (ECM) X2 (except HP2) Connector End View
GM1715238Courtesy of GENERAL MOTORS CORP.
Engine Control Module (ECM) X2 (except HP2)

Pin Wire Color Circuit Function
1 - - Not Used
2 0.35 PU/WH 6270 5-Volt Reference
3 0.35 GY 2701 5-Volt Reference
4 - - Not Used
5 0.5 BN 582 TAC Motor Control - 2
6 0.5 YE 581 TAC Motor Control - 1
7 - - Not Used
8 0.5 D-GN/WH 428 EVAP Canister Purge Solenoid Control
9 0.35 GY 5493 Cylinder Shutoff Solenoid Control (3) (LY5, LMG, L76 or LC9)
10 0.35 D-BU 5491 Cylinder Shutoff Solenoid Control (1) (LY5, LMG, L76 or LC9)
11 0.35 OG 5494 Cylinder Shutoff Solenoid Control (4) (LY5, LMG, L76 or LC9)
12 0.5 GY/WH 3113 HO2S Heater Low Control - Bank 1 Sensor 1
13 0.5 L-GN 3212 HO2S Heater Low Control - Bank 2 Sensor 1
14 0.5 L-GN/BK 5492 Cylinder Shutoff Solenoid Control (2) (LY5, LMG, L76 or LC9)
15 - - Not Used
16 0.35 PU 5284 Camshaft Actuator Solenoid Control (L76, L92 or LY6)
17 0.5 D-BU/WH 878 Fuel Injector 8 Control
18 0.5 TN/WH 845 Fuel Injector 5 Control
19 0.5 YE/BK 846 Fuel Injector 6 Control
20 0.5 TN 1744 Fuel Injector 1 Control
21 0.5 YE 410 Engine Coolant Temperature (ECT) Sensor Signal
22 0.5 TN 2761 Low Reference
23-25 - - Not Used
26 0.8 D-BU 496 Knock Sensor 1 Signal
27 0.8 GY 1716 Low Reference
28 - - Not Used
29 0.8 L-BU 1876 Knock Sensor 2 Signal
30 0.8 GY 2303 Low Reference
31 - - Not Used
32 0.5 GY 23 Generator Field Duty Cycle Signal
33 - - Not Used
34 0.35 BK 2755 Low Reference
35 0.35 TN 2752 Low Reference
36 - - Not Used
37 0.5 L-GN/BK 1745 Fuel Injector 2 Control
38 0.5 PK/BK 1746 Fuel Injector 3 Control
39 0.5 L-BU/BK 844 Fuel Injector 4 Control
40 0.5 OG/BK 877 Fuel Injector 7 Control
41 0.35 GY 2705 5-Volt Reference
42 - - Not Used
43 0.35 GY 2704 5-Volt Reference
44 0.35 D-BU 6259 5-Volt Reference
45-49 - - Not Used
50 0.35 TN/WH 331 Oil Pressure Sensor Signal
51 - - Not Used
52 0.35 TN 2199 Low Reference (6.0L)
53 0.35 OG/BK 469 Low Reference
54-55 - - Not Used
56 0.5 TN 1664 HO2S Low Signal - Bank 1 Sensor 1
57 0.5 PU/WH 1665 HO2S High Signal - Bank 1 Sensor 1
58 0.35 L-GN 432 Manifold Absolute Pressure (MAP) Sensor Signal
59 0.5 PU 1666 HO2S High Signal - Bank 2 Sensor 1
60 0.5 TN 1667 HO2S Low Signal - Bank 2 Sensor 1
61 0.5 BN 25 Charge Indicator Control/Charge Indicator Signal
62 - - Not Used
63 0.35 PU 486 Throttle Position Sensor 2 Signal
64 0.35 D-BU/WH 6265 CMP Sensor Signal
65 0.35 D-GN 485 Throttle Position Sensor 1 Signal
66 0.35 BN 6266 Low Reference
67 - - Not Used
68 0.35 WH/BK 6271 Crankshaft Position
(CKP) Sensor Signal
69 0.35 GY/BK 6272 Low Reference
70 0.5 PU 2121 Ignition Coli 1 Control
71 0.5 PU/WH 2128 Ignition Coli 8 Control
72 0.5 OG 2127 Ignition Coli 7 Control
73 0.5 OG/WH 2122 Ignition Coli 2 Control
74 0.5 L-BU/WH 2126 Ignition Coli 6 Control
75 0.5 D-GN 2125 Ignition Coli 5 Control
76 0.5 D-GN/WH 2124 Ignition Coli 4 Control
77 0.5 L-BU 2123 Ignition Coli 3 Control
78 0.5 BN 2129 Low Reference
79 0.5 BN/WH 2130 Low Reference
80 - - Not Used
Connector Part Information 
  • OEM: 13511426
  • Service: 19115670
  • Description: 80-Way F Receptacle 0.64 2.8 Sealed (GY)
Terminal Part Information 
  • Pins: 2-3, 16, 34-35, 41-53, 58, 63-69
  • Terminal/Tray: 33467-0003/23
  • Core/Insulation Crimp: H/H
  • Release Tool/Test Probe: J-38125-213/J-35616-64B (L-BU)
  • Pins: 5-14, 17-33, 37-40, 56-57, 59-61, 70-79
  • Terminal/Tray: 33467-0005/23
  • Core/Insulation Crimp: Pins 5-14, 17-22, 29-33, 37-40, 56-57, 59-61, 70-79: J/J
  • Core/Insulation Crimp: Pins 26-27: K/K
  • Release Tool/Test Probe: J-38125-213/J-35616-64B (L-BU)