LEMON Manuals: Even more car manuals for everyone
Home >> Cadillac >> 2012 >> Escalade EXT >> Repair and Diagnosis >> External Pages >> Different car >> Section 1917 (Wiring Systems And Power Management - Component Connector End Views Part 2) >> Glow Plug Control Module (GPCM) X2 (Diesel)

Glow Plug Control Module (GPCM) X2 (Diesel)

WARNING: This page is about a different car, the 2009 GMC Sierra, 2009 GMC Cab & Chassis Sierra, 2009 Chevrolet Silverado, and 2009 Chevrolet Cab & Chassis Silverado. However, it is still accessible from the selected car via links, so may be relevant.
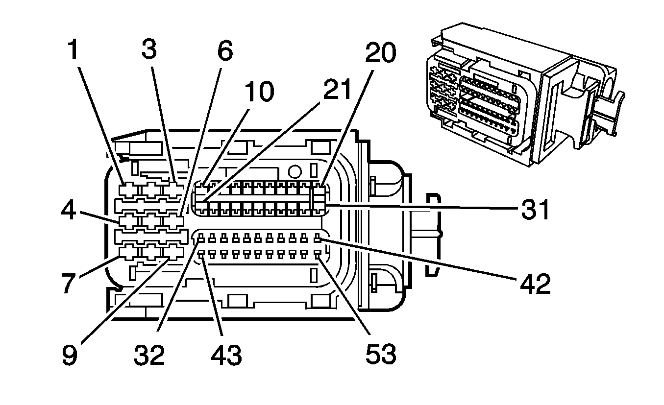
Fig 1: Glow Plug Control Module (GPCM) X2 (Diesel) Connector End View
GM1576764Courtesy of GENERAL MOTORS CORP.
Glow Plug Control Module (GPCM) X2 (Diesel)

Pin Wire Circuit Function
1 2 RD/WH HB13 Glow Plug 3 Supply Voltage
2 2 WH/GN HB12 Glow Plug 2 Supply Voltage
3 2 RD/GN HB11 Glow Plug 1 Supply Voltage
4 2 WH/YE HB14 Glow Plug 4 Supply Voltage
5 - - Not Used
6 2 WH/RD HB18 Glow Plug 8 Supply Voltage
7 2 RD/L-GN HB15 Glow Plug 5 Supply Voltage
8 2 WH/L-GN HB16 Glow Plug 6 Supply Voltage
9 2 PK HB17 Glow Plug 7 Supply Voltage
10-25 - - Not Used
26 0.75 YE IC182 IAH Command 2
27 0.75 RD IC185 IAH Feedback Signal
28 0.75 BK IC180 IAH Temperature Signal
29 0.75 PK IC183 IAH Current Signal
30 0.75 TN IC184 IAH Voltage Signal
31 1 OG IC181 IAH Command 1
32-42 - - Not Used
43 0.75 TN HB01 High Speed GMLAN Serial Data Bus (-)
44 0.75 TN/BK HB20 High Speed GMLAN Serial Data Bus (+)
45 0.75 TN HB05 High Speed GMLAN Serial Data Bus (-)
46 0.75 TN/BK HB06 High Speed GMLAN Serial Data Bus (+)
47-50 - - Not Used
51 0.75 RD HB03 Ground
52 0.75 PK HB02 Ignition 1 Voltage
53 1 D-BU HB04 Accessory Wakeup Serial Data
Connector Part Information 
  • OEM: 897386-6110
  • Service: 97386611
  • Description: 53-Way F MLK 1.2/SLK 2.8 Series, Sealed (BK)
Terminal Part Information 
  • Pins: 1-4, 6-9
  • Terminal/Tray: 2 21 24 61420 0/15
  • Core/Insulation Crimp: K/K
  • Release Tool/Test Probe: 15381651-2/J-35616-16 (L-GN)
  • Pins: 26-31, 43-46, 51-53
  • Terminal/Tray: 2 21 24 47297 0/27
  • Core/Insulation Crimp: 4/C/1
  • Release Tool/Test Probe: 15314260/J-35616-4A (PU)