LEMON Manuals: Even more car manuals for everyone
Home >> Cadillac >> 2012 >> Escalade EXT >> Repair and Diagnosis >> External Pages >> Different car >> Section 1869 (Wiring Systems And Power Management - Component Connector End Views - A/C Compressor Through Electronic Power Steering Module X1) >> Component Connector End Views >> Blower Motor Control Module X2

Blower Motor Control Module X2

WARNING: This page does not describe the selected car, but rather 8 other vehicles, including the 2011 GMC Yukon XL, 2011 GMC Yukon, 2011 Chevrolet Tahoe, 2011 Chevrolet Suburban, and 2011 Chevrolet Avalanche. However, it is still accessible from the selected car via links, so may be relevant.
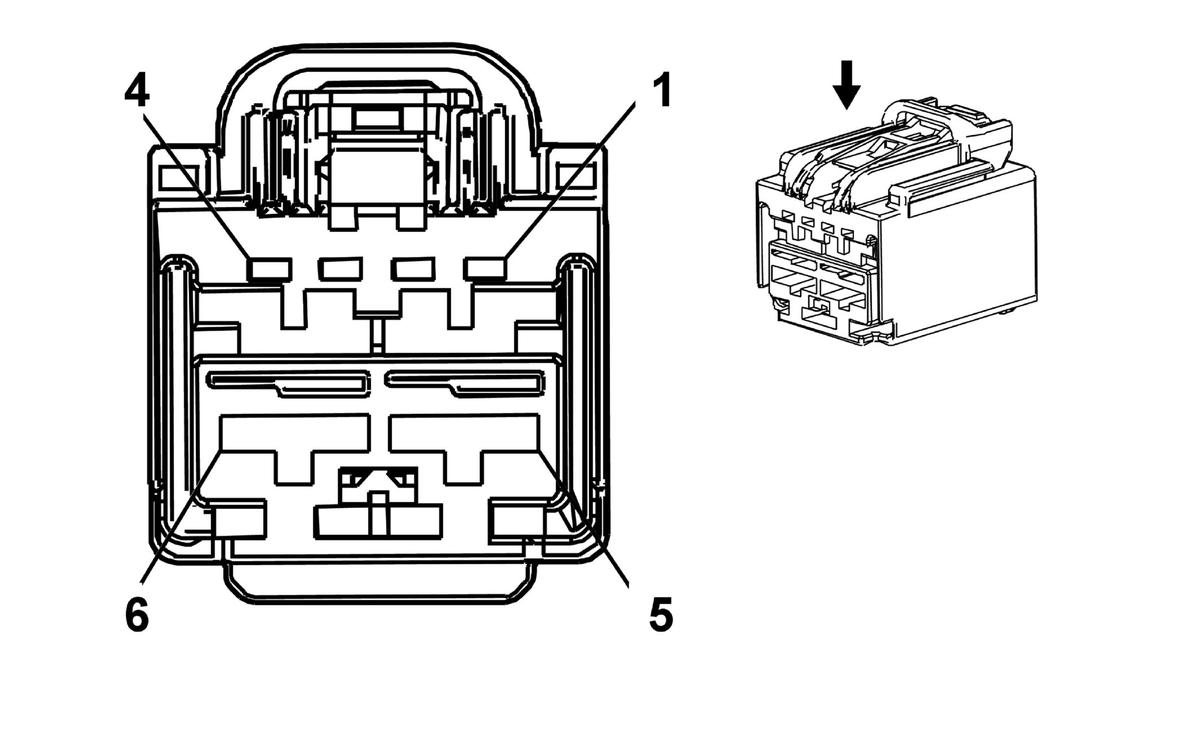
Fig 1: Blower Motor Control Module X2 Connector End View
GM1837860Courtesy of GENERAL MOTORS CORP.
Blower Motor Control Module X2

Pin Wire Circuit Function
1-2 - - Not Used
3 0.35 PU/WH 754 Blower Motor Speed Control
4 - - Not Used
5 5 BK 1050 Ground
6 3 RD 542 Battery Positive Voltage
Connector Part Information
  • Harness Type: HVAC
  • OEM Connector: 13520671
  • Service Connector: 88988512
  • Description: 6-Way F GT 150 6.3 Series (BK)
Terminal Part Information
  • Terminal/Tray: Service by Harness - See Part Catalog
  • Core/Insulation Crimp: Not Available
  • Release Tool/Test Probe: Not Available