LEMON Manuals: Even more car manuals for everyone
Home >> Cadillac >> 2012 >> Escalade EXT >> Repair and Diagnosis >> External Pages >> Different car >> Section 1869 (Wiring Systems And Power Management - Component Connector End Views - A/C Compressor Through Electronic Power Steering Module X1) >> Component Connector End Views >> Accessory Power Outlet - I/P 1

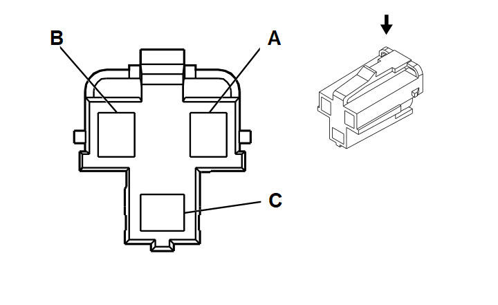
Accessory Power Outlet - I/P 1

WARNING: This page does not describe the selected car, but rather 8 other vehicles, including the 2011 GMC Yukon XL, 2011 GMC Yukon, 2011 Chevrolet Tahoe, 2011 Chevrolet Suburban, and 2011 Chevrolet Avalanche. However, it is still accessible from the selected car via links, so may be relevant.
Fig 1: Accessory Power Outlet - I/P 1 Connector End View
GM362748Courtesy of GENERAL MOTORS CORP.
Accessory Power Outlet - I/P 1

Pin Wire Circuit Function
A 0.8 RD/WH 640 Battery Positive Voltage
B - - Not Used
C 0.8 BK 1050 Ground
Connector Part Information
  • Harness Type: Instrument Panel
  • OEM Connector: 12176836
  • Service Connector: 15305923
  • Description: 3-Way F Metri-Pack 280 Series (GY)
Terminal Part Information
  • Terminated Lead: 13575721
  • Release Tool: J-38125-553
  • Diagnostic Test Probe: J-35616-4A (PU)
  • Terminal/Tray: 12110844/4
  • Core/Insulation Crimp: C/A