LEMON Manuals: Even more car manuals for everyone
Home >> Cadillac >> 2012 >> Escalade EXT >> Repair and Diagnosis >> External Pages >> Different car >> Section 1869 (Wiring Systems And Power Management - Component Connector End Views - A/C Compressor Through Electronic Power Steering Module X1) >> Component Connector End Views >> A/C Compressor Clutch (except HP2)

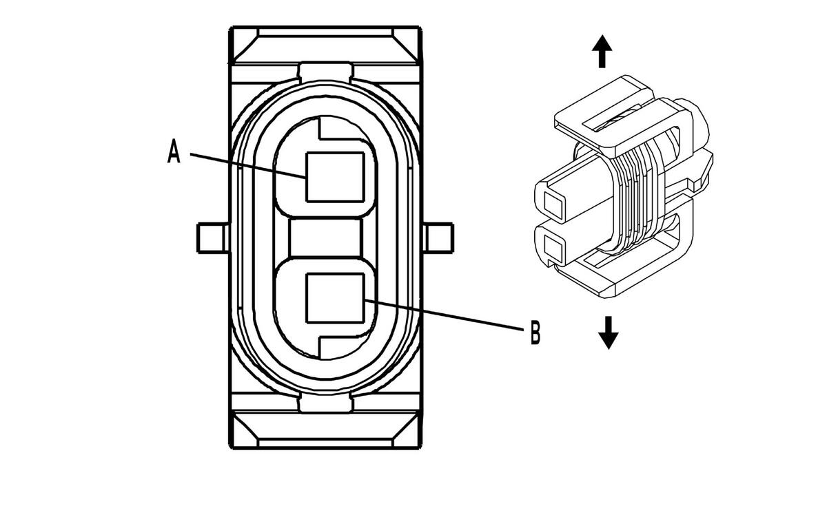
A/C Compressor Clutch (except HP2)

WARNING: This page does not describe the selected car, but rather 8 other vehicles, including the 2011 GMC Yukon XL, 2011 GMC Yukon, 2011 Chevrolet Tahoe, 2011 Chevrolet Suburban, and 2011 Chevrolet Avalanche. However, it is still accessible from the selected car via links, so may be relevant.
Fig 1: A/C Compressor Clutch (except HP2) Connector End View
GM684852Courtesy of GENERAL MOTORS CORP.
A/C Compressor Clutch (except HP2)

Pin Wire Circuit Function
A 0.8 BK 550 Ground
B 0.8 D-GN 59 A/C Compressor Clutch Control
Connector Part Information
  • Harness Type: Engine
  • OEM Connector: 12162017
  • Service Connector: 12101937
  • Description: 2-Way F Metri-Pack 150 Series, Sealed (GY)
Terminal Part Information
  • Terminated Lead: Service by Connector Assembly- 12101937
  • Release Tool: J-38125-12A
  • Diagnostic Test Probe: J-35616-14 (GN)
  • Terminal/Tray: 12160223/3
  • Core/Insulation Crimp: E/1