LEMON Manuals: Even more car manuals for everyone
Home >> Cadillac >> 2012 >> Escalade EXT >> Repair and Diagnosis >> External Pages >> Different car >> Section 1711 (Wiring Systems And Power Management - Component Connector End Views - P-R) >> Component Connector End Views - P Through R >> Rearview Camera Image Display Module X1 (UVC)

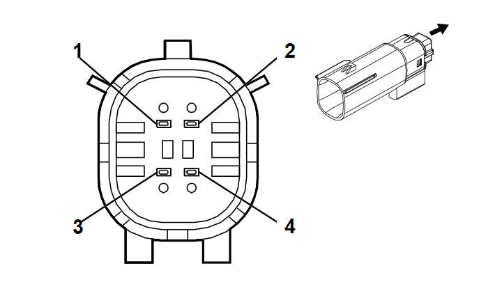
Rearview Camera Image Display Module X1 (UVC)

WARNING: This page is about a different car, the 2010 GMC Sierra, 2010 GMC Cab & Chassis Sierra, 2010 Chevrolet Silverado, and 2010 Chevrolet Cab & Chassis Silverado. However, it is still accessible from the selected car via links, so may be relevant.
Fig 1: Rearview Camera Image Display Module X1 (UVC)
GM2368875Courtesy of GENERAL MOTORS CORP.
Rearview Camera Image Display Module X1 (UVC)

Pin Wire Circuit Function
1 0.5 L-BU 7642 Camera Video Signal (-)
2 0.5 BK/WH 1851 Ground
3 0.5 D-BU 38 Backup Lamp Relay Control
4 - - Not Available
Connector Part Information 
  • Harness: Chassis
  • OEM: 13669680
  • Service: Pending
  • Description: 4-Way M MX 150 Series Sealed (BK)
Terminal Part Information 
  • Terminal/Tray: Pending
  • Core/Insulation Crimp: Pending
  • Release Tool/Test Probe: Pending